专利数据库
统计分析
产业报告
专利数据监控
产业人才
行业动态
产业政策法规
维权援助
个人中心
详情
文本
图像
标题
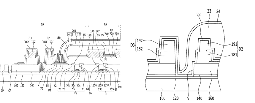
Organic light emitting diode display
授权日
2017-11-14
公开(公告)号
US9818807
申请日
2015-09-30
公开(公告)日
2017-11-14
当前申请(专利权)人
SAMSUNG DISPLAY CO., LTD.
发明人
PARK, DONG-SEOP
简单同族
KR1020160087982A | US20160204373A1 | US9818807
简单同族成员数量
3
简单同族被引用专利总数
50
诉讼案件数
0
法律状态/事件
授权 | 权利转移
抱歉,您的浏览器不支持PDF预览,请点击链接下载PDF文件