专利数据库
统计分析
产业报告
专利数据监控
产业人才
行业动态
产业政策法规
维权援助
个人中心
详情
文本
图像
标题
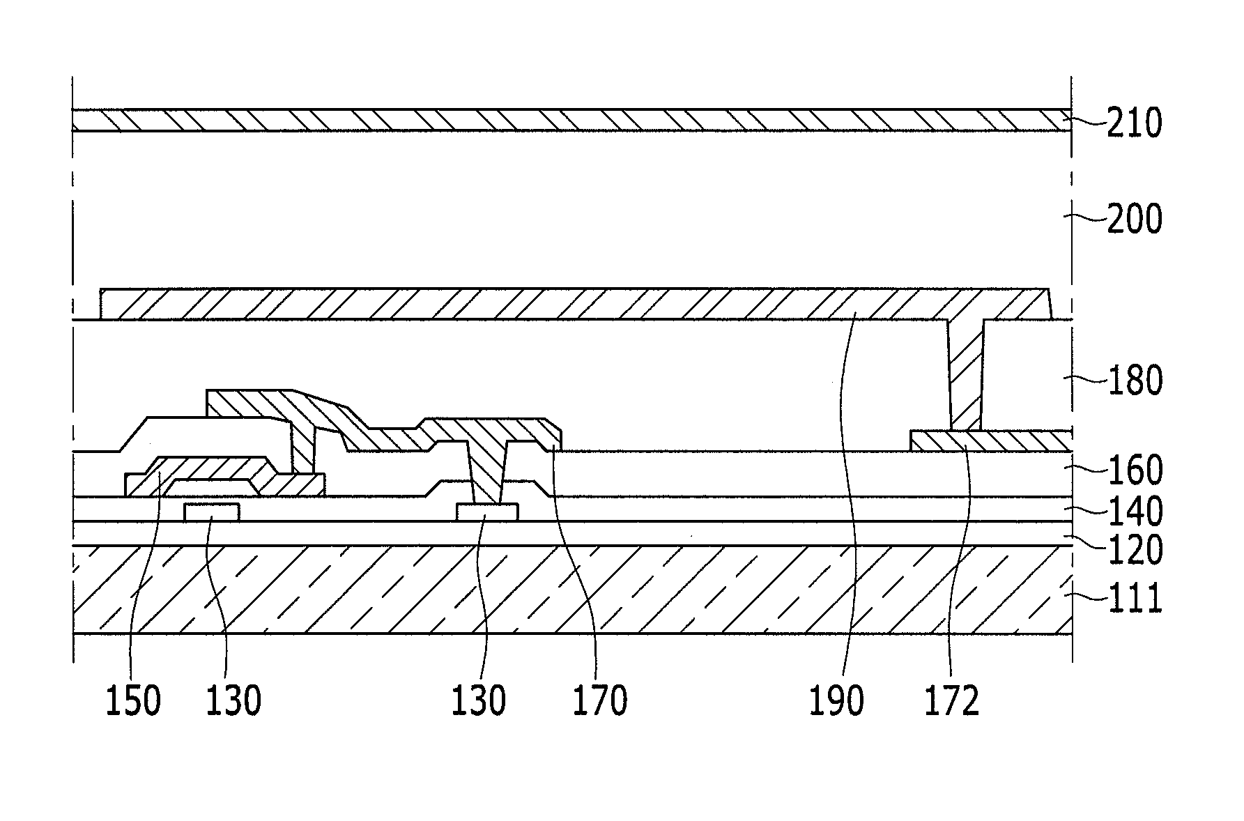
Organic light emitting display device, driving method thereof, and manufacturing method thereof
授权日
2014-05-06
公开(公告)号
US8717259
申请日
2011-07-08
公开(公告)日
2014-05-06
当前申请(专利权)人
SAMSUNG DISPLAY CO., LTD.
发明人
PARK, DONG-WOOK
简单同族
KR101839533B1 | KR1020120075040A | US20120162275A1 | US20140232762A1 | US8717259 | US9501978
简单同族成员数量
6
简单同族被引用专利总数
61
诉讼案件数
0
法律状态/事件
授权 | 权利转移
抱歉,您的浏览器不支持PDF预览,请点击链接下载PDF文件