专利数据库
统计分析
产业报告
专利数据监控
产业人才
行业动态
产业政策法规
维权援助
个人中心
详情
文本
图像
标题
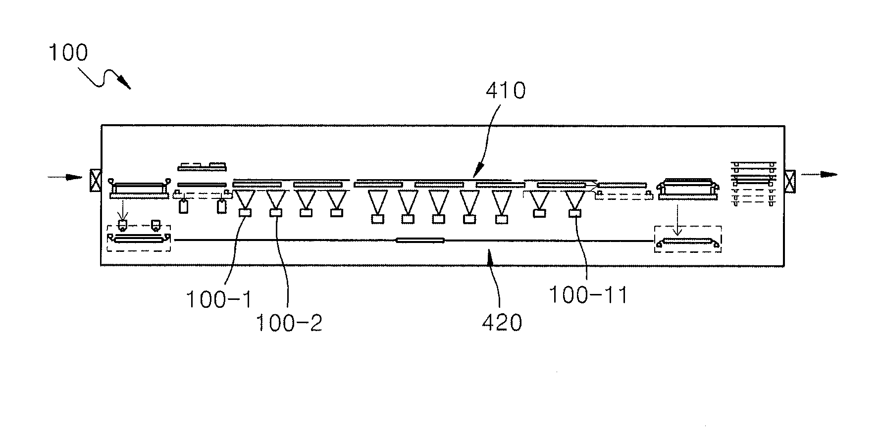
Organic layer deposition apparatus, method of manufacturing organic light-emitting display apparatus by using the same, and organic light-emitting display apparatus manufactured by the method
授权日
1900-01-01
公开(公告)号
US20140014921A1
申请日
2013-03-11
公开(公告)日
2014-01-16
当前申请(专利权)人
SAMSUNG DISPLAY CO., LTD.
发明人
CHOI, YOUNG-MOOK
简单同族
CN103540896A | EP2688121A2 | EP2688121A3 | JP2014019954A | JP2014019954A5 | KR1020140010303A | TW201404901A | US20140014921A1
简单同族成员数量
8
简单同族被引用专利总数
49
诉讼案件数
0
法律状态/事件
撤回 | 权利转移
抱歉,您的浏览器不支持PDF预览,请点击链接下载PDF文件