专利数据库
统计分析
产业报告
专利数据监控
产业人才
行业动态
产业政策法规
维权援助
个人中心
详情
文本
图像
标题
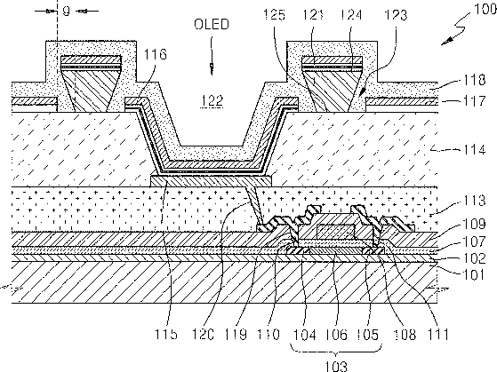
Flexible display apparatus and method of manufacturing the same
授权日
2015-08-18
公开(公告)号
US9111887
申请日
2012-08-17
公开(公告)日
2015-08-18
当前申请(专利权)人
SAMSUNG DISPLAY CO., LTD.
发明人
KIM, MU-GYEOM | KIM, KYUNG-HO | CHO, JOON-HYUK | KIM, SUN-HO | HAN, JI-WON
简单同族
KR101801913B1 | KR1020130107883A | US20130248867A1 | US9111887
简单同族成员数量
4
简单同族被引用专利总数
73
诉讼案件数
0
法律状态/事件
授权 | 权利转移
抱歉,您的浏览器不支持PDF预览,请点击链接下载PDF文件