专利数据库
统计分析
产业报告
专利数据监控
产业人才
行业动态
产业政策法规
维权援助
个人中心
详情
文本
图像
标题
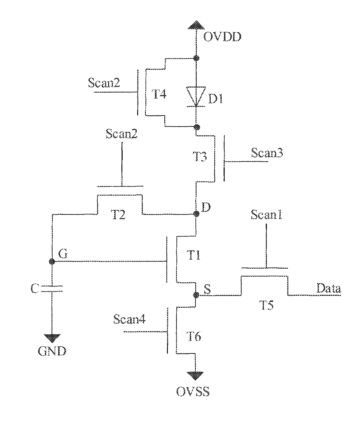
AMOLED pixel driving circuit and AMOLED pixel driving method
授权日
2019-05-28
公开(公告)号
US10304387
申请日
2017-11-29
公开(公告)日
2019-05-28
当前申请(专利权)人
SHENZHEN CHINA STAR OPTOELECTRONICS SEMICONDUCTOR DISPLAY TECHNOLOGY CO., LTD.
发明人
CHEN, XIAOLONG
简单同族
US10304387 | US20190019456A1
简单同族成员数量
2
简单同族被引用专利总数
0
诉讼案件数
0
法律状态/事件
授权 | 权利转移
抱歉,您的浏览器不支持PDF预览,请点击链接下载PDF文件