专利数据库
统计分析
产业报告
专利数据监控
产业人才
行业动态
产业政策法规
维权援助
个人中心
详情
文本
图像
标题
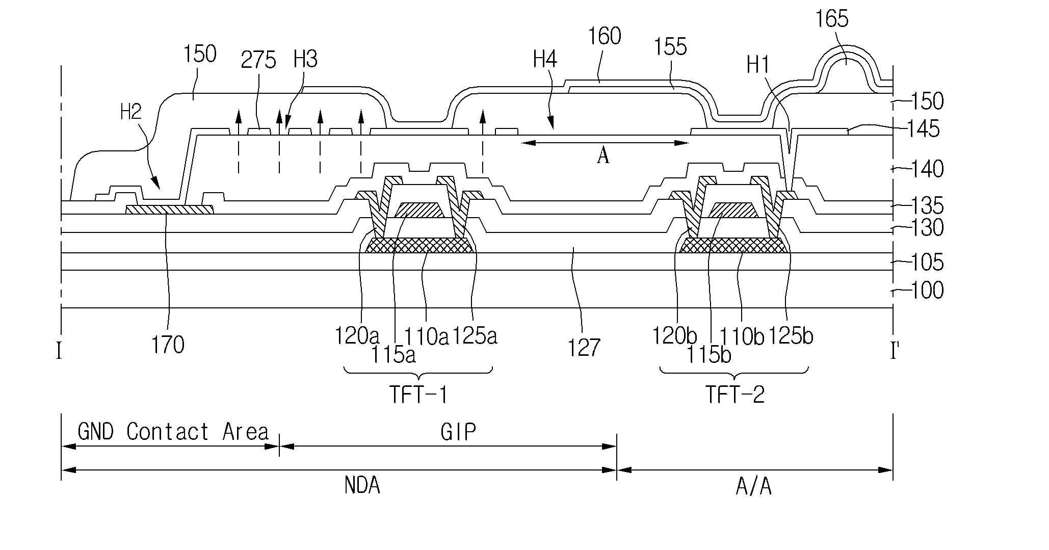
Organic light emitting diode display device and method for manufacturing the same
授权日
1900-01-01
公开(公告)号
US20160315135A1
申请日
2016-07-06
公开(公告)日
2016-10-27
当前申请(专利权)人
LG DISPLAY CO., LTD.
发明人
CHOI, HEE DONG
简单同族
CN103022371A | CN103022371B | JP2013068951A | JP2016006516A | JP6336418B2 | KR101521676B1 | KR1020130031101A | US10374027 | US20130069853A1 | US20160315135A1 | US20180083087A1 | US9412801 | US9881987
简单同族成员数量
13
简单同族被引用专利总数
63
诉讼案件数
0
法律状态/事件
授权 | 权利转移
抱歉,您的浏览器不支持PDF预览,请点击链接下载PDF文件