专利数据库
统计分析
产业报告
专利数据监控
产业人才
行业动态
产业政策法规
维权援助
个人中心
详情
文本
图像
标题
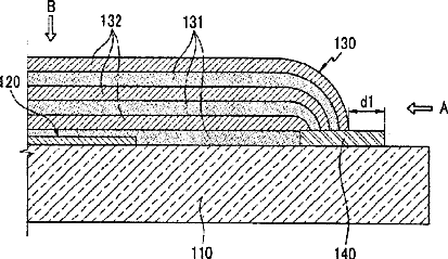
Organic light emitting diode display
授权日
2012-08-21
公开(公告)号
US8247809
申请日
2011-03-17
公开(公告)日
2012-08-21
当前申请(专利权)人
SAMSUNG MOBILE DISPLAY CO., LTD. A CORPORATION CHARTERED IN AND EXISTING UNDER THE LAW OF THE REPUBLIC OF KOREA
发明人
KIM, TAE-JIN
简单同族
KR101430173B1 | KR1020120040480A | US20120091477A1 | US8247809
简单同族成员数量
4
简单同族被引用专利总数
98
诉讼案件数
0
法律状态/事件
授权 | 权利转移
抱歉,您的浏览器不支持PDF预览,请点击链接下载PDF文件