专利数据库
统计分析
产业报告
专利数据监控
产业人才
行业动态
产业政策法规
维权援助
个人中心
详情
文本
图像
标题
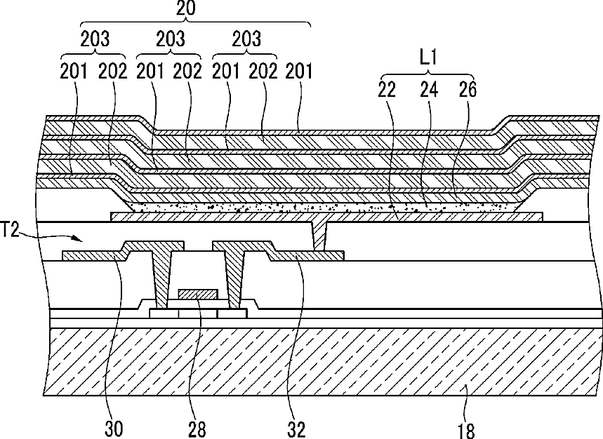
Organic light emitting diode display
授权日
1900-01-01
公开(公告)号
US20130037792A1
申请日
2012-10-05
公开(公告)日
2013-02-14
当前申请(专利权)人
SAMSUNG DISPLAY CO., LTD.
发明人
KIM, SO-YEON | HAN, SUNG-WOOK | HAN, DONG-WON | KWACK, JIN-HO | KIM, HYO-JIN
简单同族
CN102157543A | CN102157543B | DE102010064378A1 | JP2011138748A | JP2014179335A | JP6072724B2 | KR101155904B1 | KR1020110080050A | TW201208172A | TWI455386B | US20110163330A1 | US20130037792A1 | US8735936
简单同族成员数量
13
简单同族被引用专利总数
93
诉讼案件数
0
法律状态/事件
授权 | 权利转移
抱歉,您的浏览器不支持PDF预览,请点击链接下载PDF文件