专利数据库
统计分析
产业报告
专利数据监控
产业人才
行业动态
产业政策法规
维权援助
个人中心
详情
文本
图像
标题
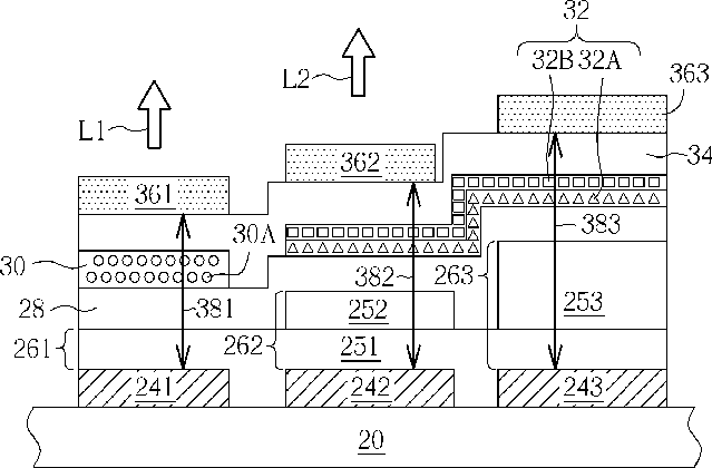
Fabrication method of a pixel structure of an electroluminescent display panel
授权日
1900-01-01
公开(公告)号
US20140342483A1
申请日
2014-08-06
公开(公告)日
2014-11-20
当前申请(专利权)人
AU OPTRONICS CORP.
发明人
LIU, MENG-YU | LIU, CHIH-CHE | HSU, SHIH-FENG
简单同族
CN102610630A | CN102610630B | TW201324761A | US20130147689A1 | US20140342483A1 | US8847857 | US9065079
简单同族成员数量
7
简单同族被引用专利总数
52
诉讼案件数
0
法律状态/事件
授权 | 权利转移
抱歉,您的浏览器不支持PDF预览,请点击链接下载PDF文件