专利数据库
统计分析
产业报告
专利数据监控
产业人才
行业动态
产业政策法规
维权援助
个人中心
详情
文本
图像
标题
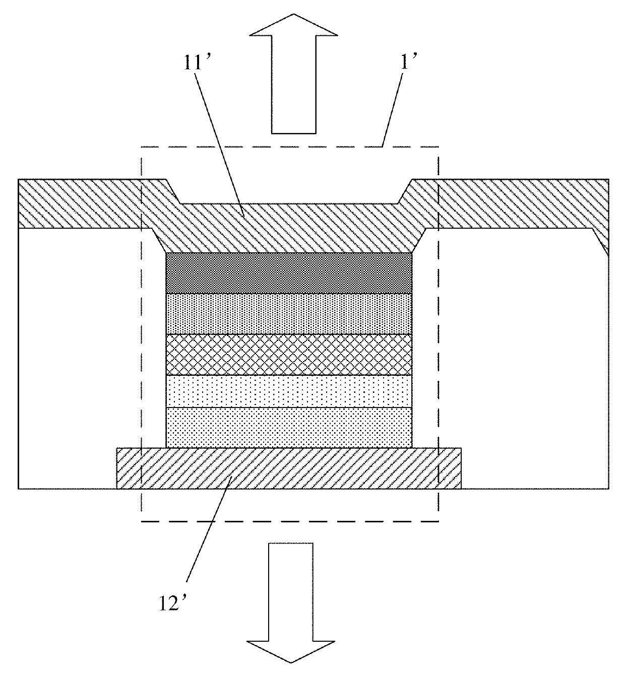
Organic light-emitting display panel and display device
授权日
2019-10-08
公开(公告)号
US10439003
申请日
2018-12-21
公开(公告)日
2019-10-08
当前申请(专利权)人
SHANGHAI TIANMA AM-OLED CO., LTD.
发明人
CHENG, SHUANG | NIU, JINGHUA | WANG, XIANGCHENG | ZHU, QING | XING, YIBIN | WANG, JIANYUN | LIU, YINHE
简单同族
CN109065752A | US10439003
简单同族成员数量
2
简单同族被引用专利总数
0
诉讼案件数
0
法律状态/事件
授权 | 权利转移
抱歉,您的浏览器不支持PDF预览,请点击链接下载PDF文件