专利数据库
统计分析
产业报告
专利数据监控
产业人才
行业动态
产业政策法规
维权援助
个人中心
详情
文本
图像
标题
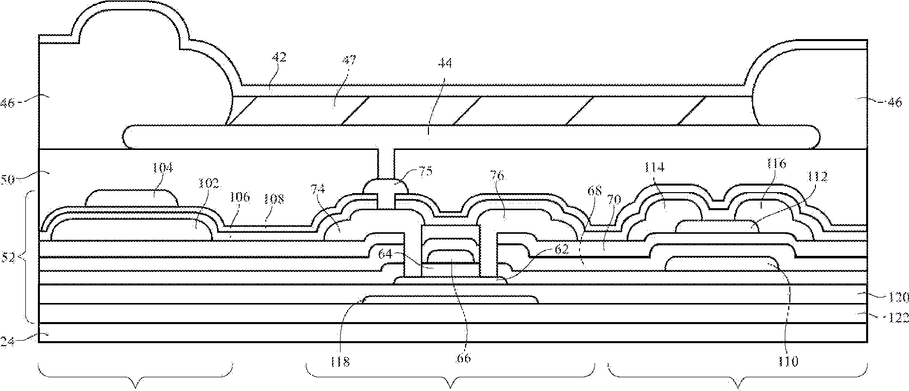
Silicon and Semiconducting Oxide Thin-Film Transistor Displays
授权日
1900-01-01
公开(公告)号
US20160087022A1
申请日
2014-09-24
公开(公告)日
2016-03-24
当前申请(专利权)人
APPLE INC.
发明人
TSAI, TSUNG-TING | GUPTA, VASUDHA | LIN, CHIN-WEI
简单同族
CN104332485A | CN104332485B | CN110085630A | CN204167325U | EP3183750A1 | EP3183750A4 | JP2017536646A | JP6683690B2 | KR101963522B1 | KR1020170044167A | US10032841 | US20160087022A1 | US20170062539A1 | US9543370 | WO2016048385A1
简单同族成员数量
15
简单同族被引用专利总数
52
诉讼案件数
0
法律状态/事件
授权 | 权利转移
抱歉,您的浏览器不支持PDF预览,请点击链接下载PDF文件