专利数据库
统计分析
产业报告
专利数据监控
产业人才
行业动态
产业政策法规
维权援助
个人中心
详情
文本
图像
标题
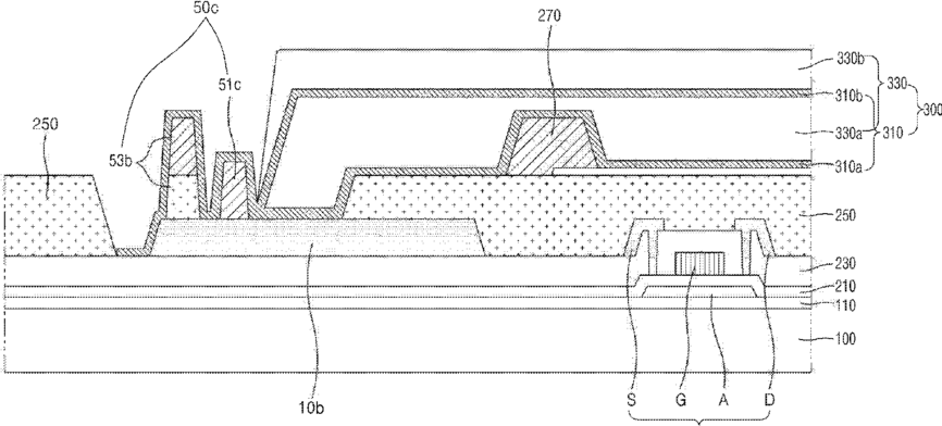
Organic light-emitting diode display
授权日
1900-01-01
公开(公告)号
US20170033312A1
申请日
2016-05-16
公开(公告)日
2017-02-02
当前申请(专利权)人
SAMSUNG DISPLAY CO., LTD.
发明人
KIM, DEUKJONG | LEE, SUNYOUL
简单同族
CN106409869A | KR101763616B1 | KR1020170015629A | US10468628 | US20170033312A1 | US20180205037A1 | US20200044193A1 | US9954200
简单同族成员数量
8
简单同族被引用专利总数
49
诉讼案件数
0
法律状态/事件
授权 | 权利转移
抱歉,您的浏览器不支持PDF预览,请点击链接下载PDF文件