专利数据库
统计分析
产业报告
专利数据监控
产业人才
行业动态
产业政策法规
维权援助
个人中心
详情
文本
图像
标题
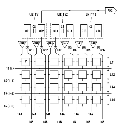
Organic light emitting display for sensing electrical characteristics of driving element
授权日
2016-05-24
公开(公告)号
US9349311
申请日
2014-12-24
公开(公告)日
2016-05-24
当前申请(专利权)人
LG DISPLAY CO., LTD.
发明人
YU, SANGHO | KIM, BUMSIK
简单同族
CN105206208A | CN105206208B | KR101529005B1 | US20150379909A1 | US20160240122A1 | US9349311 | US9542873
简单同族成员数量
7
简单同族被引用专利总数
52
诉讼案件数
0
法律状态/事件
授权 | 权利转移
抱歉,您的浏览器不支持PDF预览,请点击链接下载PDF文件