专利数据库
统计分析
产业报告
专利数据监控
产业人才
行业动态
产业政策法规
维权援助
个人中心
详情
文本
图像
标题
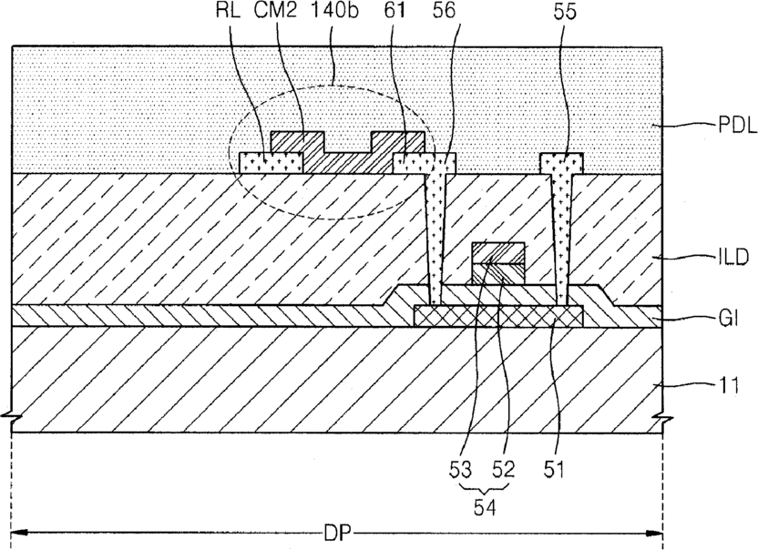
Organic light-emitting display device, method of repairing the same, and method of driving the same
授权日
1900-01-01
公开(公告)号
US20160118455A1
申请日
2015-12-31
公开(公告)日
2016-04-28
当前申请(专利权)人
SAMSUNG DISPLAY CO., LTD.
发明人
KANG, KI-NYENG | KIM, NA-YOUNG | JO, SOO-BEOM | LEE, JAE-HO | HUR, MYUNG-KOO
简单同族
CN104103234A | CN104103234B | EP2787499A1 | JP2014203081A | JP6552157B2 | KR101993334B1 | KR1020140119584A | TW201447852A | TWI637372B | US20140292827A1 | US20160118455A1 | US9256109
简单同族成员数量
12
简单同族被引用专利总数
78
诉讼案件数
0
法律状态/事件
撤回 | 权利转移
抱歉,您的浏览器不支持PDF预览,请点击链接下载PDF文件