专利数据库
统计分析
产业报告
专利数据监控
产业人才
行业动态
产业政策法规
维权援助
个人中心
详情
文本
图像
标题
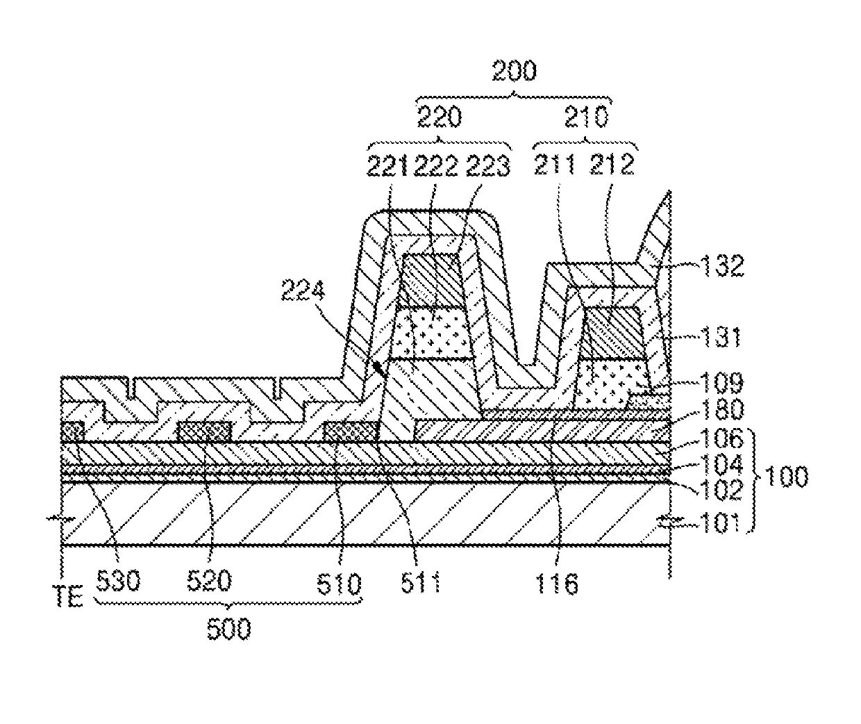
Organic light emitting display apparatus having an insulating dam
授权日
2019-07-09
公开(公告)号
US10347866
申请日
2018-09-13
公开(公告)日
2019-07-09
当前申请(专利权)人
SAMSUNG DISPLAY CO., LTD.
发明人
KIM, NAMJIN
简单同族
KR1020190100568A | US10347866
简单同族成员数量
2
简单同族被引用专利总数
0
诉讼案件数
0
法律状态/事件
授权 | 权利转移
抱歉,您的浏览器不支持PDF预览,请点击链接下载PDF文件