专利数据库
统计分析
产业报告
专利数据监控
产业人才
行业动态
产业政策法规
维权援助
个人中心
详情
文本
图像
标题
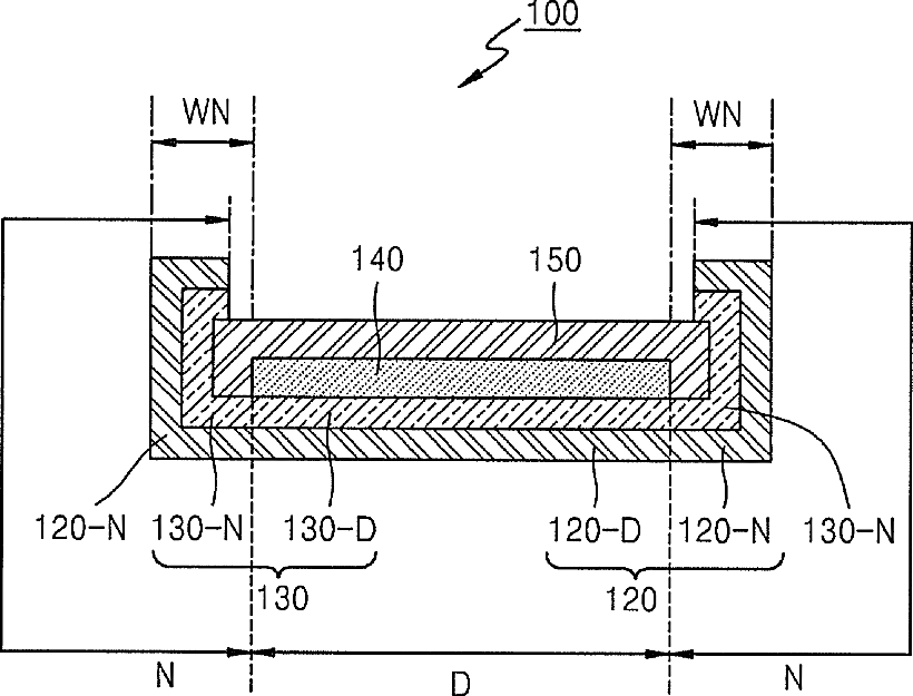
Organic light-emitting display apparatus and method of manufacturing the same
授权日
1900-01-01
公开(公告)号
US20130076268A1
申请日
2012-05-11
公开(公告)日
2013-03-28
当前申请(专利权)人
SAMSUNG DISPLAY CO., LTD.
发明人
CHOI, JUNG-MI | PARK, YONG-HWAN
简单同族
KR101773088B1 | KR1020130032111A | US10177339 | US10600993 | US20130076268A1 | US20170263881A1 | US20190148665A1 | US20200212339A1 | US9668318
简单同族成员数量
9
简单同族被引用专利总数
46
诉讼案件数
0
法律状态/事件
授权 | 权利转移
抱歉,您的浏览器不支持PDF预览,请点击链接下载PDF文件