专利数据库
统计分析
产业报告
专利数据监控
产业人才
行业动态
产业政策法规
维权援助
个人中心
详情
文本
图像
标题
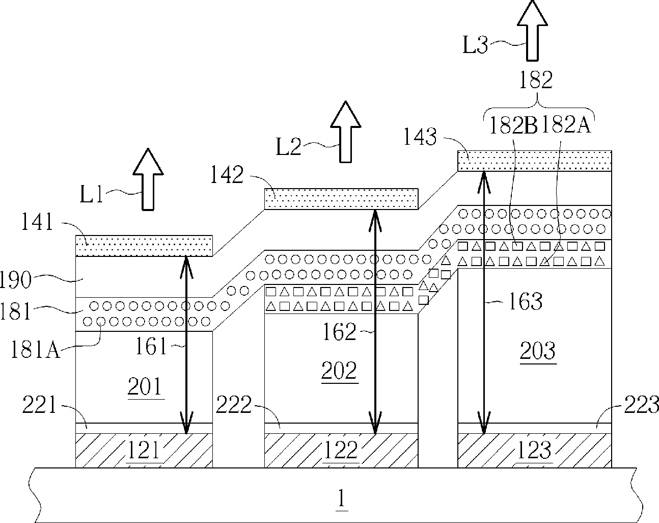
Pixel structure of electroluminescent display panel
授权日
1900-01-01
公开(公告)号
US20130140533A1
申请日
2012-11-05
公开(公告)日
2013-06-06
当前申请(专利权)人
AU OPTRONICS CORP.
发明人
LEE, MENG-TING | CHU, MIAO-TSAI
简单同族
CN103050630A | TW201324891A | US20130140533A1 | US8946735
简单同族成员数量
4
简单同族被引用专利总数
67
诉讼案件数
0
法律状态/事件
授权 | 权利转移
抱歉,您的浏览器不支持PDF预览,请点击链接下载PDF文件