专利数据库
统计分析
产业报告
专利数据监控
产业人才
行业动态
产业政策法规
维权援助
个人中心
详情
文本
图像
标题
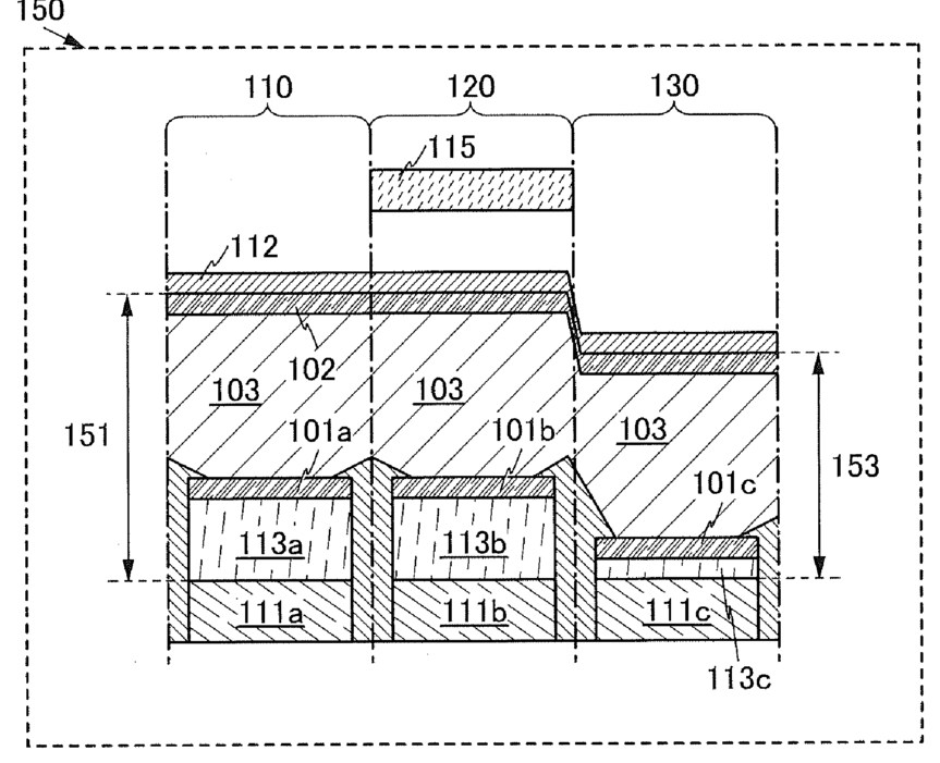
Light-Emitting Panel, Light-Emitting Device, and Method for Manufacturing the Light-Emitting Panel
授权日
1900-01-01
公开(公告)号
US20180026233A1
申请日
2017-08-14
公开(公告)日
2018-01-25
当前申请(专利权)人
SEMICONDUCTOR ENERGY LABORATORY CO., LTD.
发明人
OHSAWA, NOBUHARU | SASAKI, TOSHIKI | SEO, SATOSHI
简单同族
JP2012216519A | JP2017041450A | JP2019050206A | JP2020024933A | JP6005962B2 | JP6429838B2 | JP6681961B2 | KR101964778B1 | KR1020120109397A | KR1020190034517A | KR1020200012010A | KR102073219B1 | TW201301607A | TWI562424B | US10333106 | US20120243219A1 | US20140332831A1 | US20180026233A1 | US8789968 | US9741967
简单同族成员数量
20
简单同族被引用专利总数
69
诉讼案件数
0
法律状态/事件
授权
抱歉,您的浏览器不支持PDF预览,请点击链接下载PDF文件