专利数据库
统计分析
产业报告
专利数据监控
产业人才
行业动态
产业政策法规
维权援助
个人中心
详情
文本
图像
标题
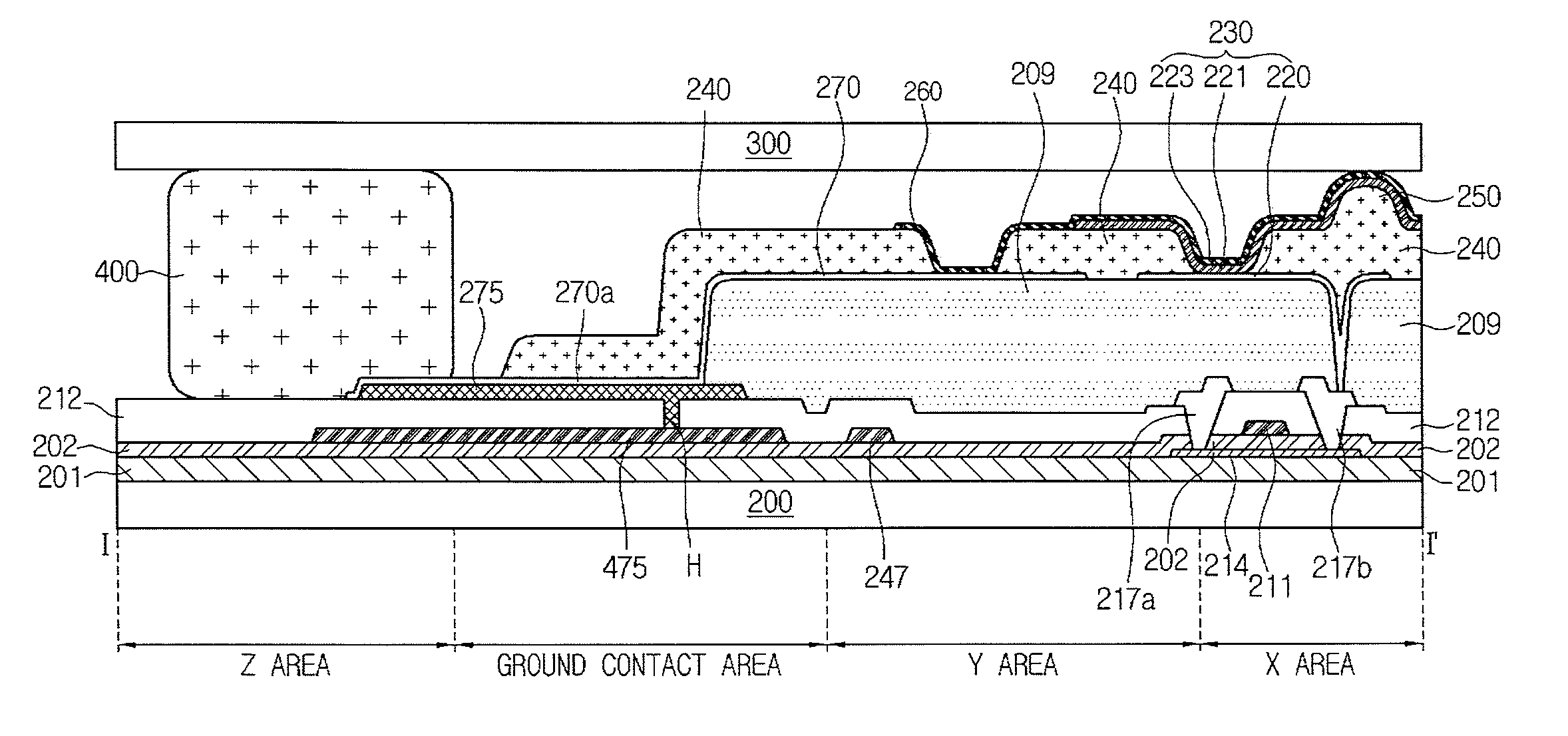
Organic light emitting display device and method for manufacturing the same
授权日
1900-01-01
公开(公告)号
US20130049003A1
申请日
2011-12-29
公开(公告)日
2013-02-28
当前申请(专利权)人
LG DISPLAY CO., LTD
发明人
CHOI, HEE DONG | JEON, SEUNG JOON
简单同族
CN102969456A | CN102969456B | KR101463650B1 | KR1020130024090A | US20130049003A1 | US20150270513A1 | US9076745 | US9362533
简单同族成员数量
8
简单同族被引用专利总数
65
诉讼案件数
0
法律状态/事件
授权 | 权利转移
抱歉,您的浏览器不支持PDF预览,请点击链接下载PDF文件