专利数据库
统计分析
产业报告
专利数据监控
产业人才
行业动态
产业政策法规
维权援助
个人中心
详情
文本
图像
标题
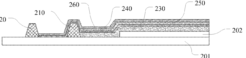
Organic light-emitting display panel and forming method thereof
授权日
2018-07-31
公开(公告)号
US10038035
申请日
2016-05-27
公开(公告)日
2018-07-31
当前申请(专利权)人
SHANGHAI TIANMA AM-OLED CO., LTD. | TIANMA MICRO-ELECTRONICS CO., LTD.
发明人
XU, ZHAOZHE | FANG, JUNXIONG
简单同族
CN104900681A | CN104900681B | DE102016110534A1 | US10038035 | US20160365395A1
简单同族成员数量
5
简单同族被引用专利总数
73
诉讼案件数
0
法律状态/事件
授权 | 权利转移
抱歉,您的浏览器不支持PDF预览,请点击链接下载PDF文件