专利数据库
统计分析
产业报告
专利数据监控
产业人才
行业动态
产业政策法规
维权援助
个人中心
详情
文本
图像
标题
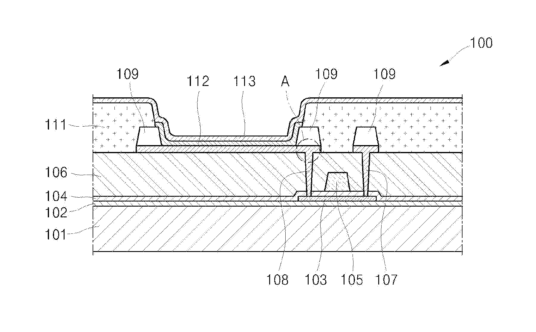
Organic light emitting display apparatus and method of manufacturing organic light emitting display apparatus
授权日
1900-01-01
公开(公告)号
US20120220061A1
申请日
2012-05-04
公开(公告)日
2012-08-30
当前申请(专利权)人
SAMSUNG DISPLAY CO., LTD.
发明人
KWON, DO-HYUN | LEE, IL-JEONG | IM, CHOONG-YOUL | NO, DAE-HYUN | YU, CHEOL-HO
简单同族
KR100964229B1 | KR1020100022406A | US20100045173A1 | US20120220061A1 | US20140057378A1 | US8207662 | US8591280 | US8803416
简单同族成员数量
8
简单同族被引用专利总数
65
诉讼案件数
0
法律状态/事件
授权 | 权利转移
抱歉,您的浏览器不支持PDF预览,请点击链接下载PDF文件