专利数据库
统计分析
产业报告
专利数据监控
产业人才
行业动态
产业政策法规
维权援助
个人中心
详情
文本
图像
标题
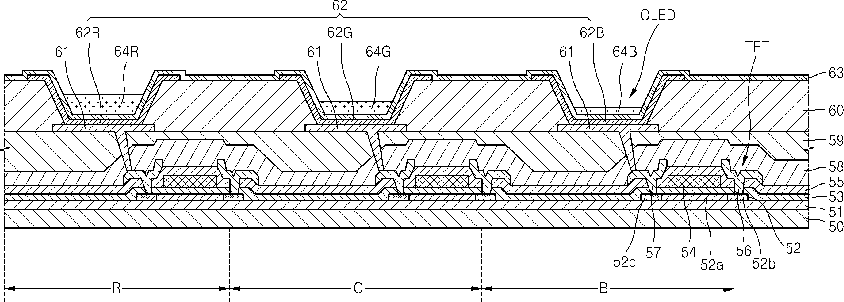
Thin film deposition apparatus, method of manufacturing organic light-emitting display device by using the apparatus, and organic light-emitting display device manufactured by using the method
授权日
2014-11-11
公开(公告)号
US8882556
申请日
2011-01-04
公开(公告)日
2014-11-11
当前申请(专利权)人
SAMSUNG DISPLAY CO., LTD.
发明人
KIM, JUNG-YEON | SUNG, UN-CHEOL
简单同族
CN102169968A | CN102169968B | DE102011003458A1 | JP2011157625A | JP5622559B2 | KR101193186B1 | KR1020110089663A | TW201214834A | TWI607598B | US20110186820A1 | US8882556
简单同族成员数量
11
简单同族被引用专利总数
48
诉讼案件数
0
法律状态/事件
授权 | 权利转移
抱歉,您的浏览器不支持PDF预览,请点击链接下载PDF文件