专利数据库
统计分析
产业报告
专利数据监控
产业人才
行业动态
产业政策法规
维权援助
个人中心
详情
文本
图像
标题
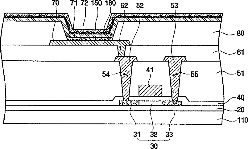
Light-scattering substrate, method of manufacturing the same, organic light-emitting display device including the same, and method of manufacturing the organic light-emitting display device
授权日
1900-01-01
公开(公告)号
US20150064826A1
申请日
2014-11-07
公开(公告)日
2015-03-05
当前申请(专利权)人
SAMSUNG DISPLAY CO., LTD.
发明人
JO, SOO-BEOM | LEE, DAE-WOO
简单同族
CN102487128A | CN102487128B | KR101789586B1 | KR1020120062374A | TW201225280A | US20120138937A1 | US20150064826A1 | US8916892 | US9166205
简单同族成员数量
9
简单同族被引用专利总数
61
诉讼案件数
0
法律状态/事件
授权
抱歉,您的浏览器不支持PDF预览,请点击链接下载PDF文件