专利数据库
统计分析
产业报告
专利数据监控
产业人才
行业动态
产业政策法规
维权援助
个人中心
详情
文本
图像
标题
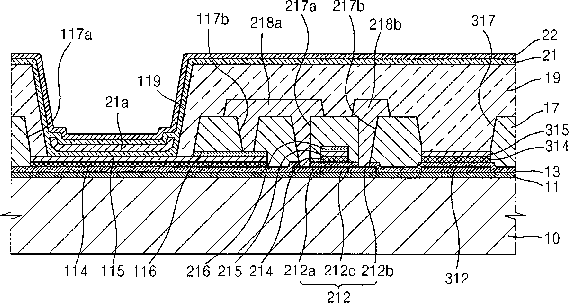
Organic light-emitting display device and method of manufacturing the same
授权日
2015-05-12
公开(公告)号
US9029900
申请日
2012-11-07
公开(公告)日
2015-05-12
当前申请(专利权)人
SAMSUNG DISPLAY CO., LTD.
发明人
NO, DAE-HYUN | CHOI, JONG-HYUN | KIM, GUN-SHIK | LEE, JUNE-WOO
简单同族
DE102011005528A1 | DE102011005528B4 | JP2011242745A | JP5653782B2 | KR101692954B1 | KR1020110126379A | US20110278615A1 | US20130065338A1 | US8354669 | US9029900
简单同族成员数量
10
简单同族被引用专利总数
47
诉讼案件数
0
法律状态/事件
授权 | 权利转移
抱歉,您的浏览器不支持PDF预览,请点击链接下载PDF文件