专利数据库
统计分析
产业报告
专利数据监控
产业人才
行业动态
产业政策法规
维权援助
个人中心
详情
文本
图像
标题
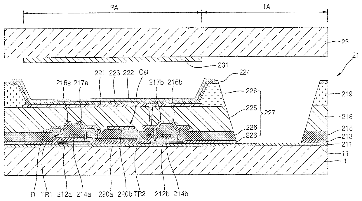
Organic light-emitting display device
授权日
2020-01-21
公开(公告)号
US10541291
申请日
2017-05-16
公开(公告)日
2020-01-21
当前申请(专利权)人
SAMSUNG DISPLAY CO., LTD.
发明人
HA, JAE-HEUNG | HWANG, KYU-HWAN | YOON, SEOK-GYU | SONG, YOUNG-WOO | LEE, JONG-HYUK
简单同族
KR101146984B1 | KR1020110101777A | US10541291 | US20110220901A1 | US20130240864A1 | US20130313539A1 | US20160043156A1 | US20170256598A1 | US8466466 | US9117779 | US9165985 | US9666654
简单同族成员数量
12
简单同族被引用专利总数
50
诉讼案件数
0
法律状态/事件
授权
抱歉,您的浏览器不支持PDF预览,请点击链接下载PDF文件