专利数据库
统计分析
产业报告
专利数据监控
产业人才
行业动态
产业政策法规
维权援助
个人中心
详情
文本
图像
标题
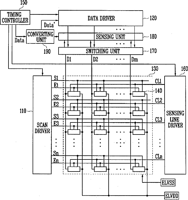
Organic light emitting display and driving method thereof
授权日
1900-01-01
公开(公告)号
US20150062199A1
申请日
2014-09-15
公开(公告)日
2015-03-05
当前申请(专利权)人
SAMSUNG DISPLAY CO., LTD.
发明人
RYU, DO-HYUNG | KIM, KEUM-NAM | CHOI, SANG-MOO
简单同族
KR101073297B1 | KR1020110005500A | US20110007067A1 | US20150062199A1 | US8836691 | US9318050
简单同族成员数量
6
简单同族被引用专利总数
75
诉讼案件数
0
法律状态/事件
授权 | 权利转移
抱歉,您的浏览器不支持PDF预览,请点击链接下载PDF文件