专利数据库
统计分析
产业报告
专利数据监控
产业人才
行业动态
产业政策法规
维权援助
个人中心
详情
文本
图像
标题
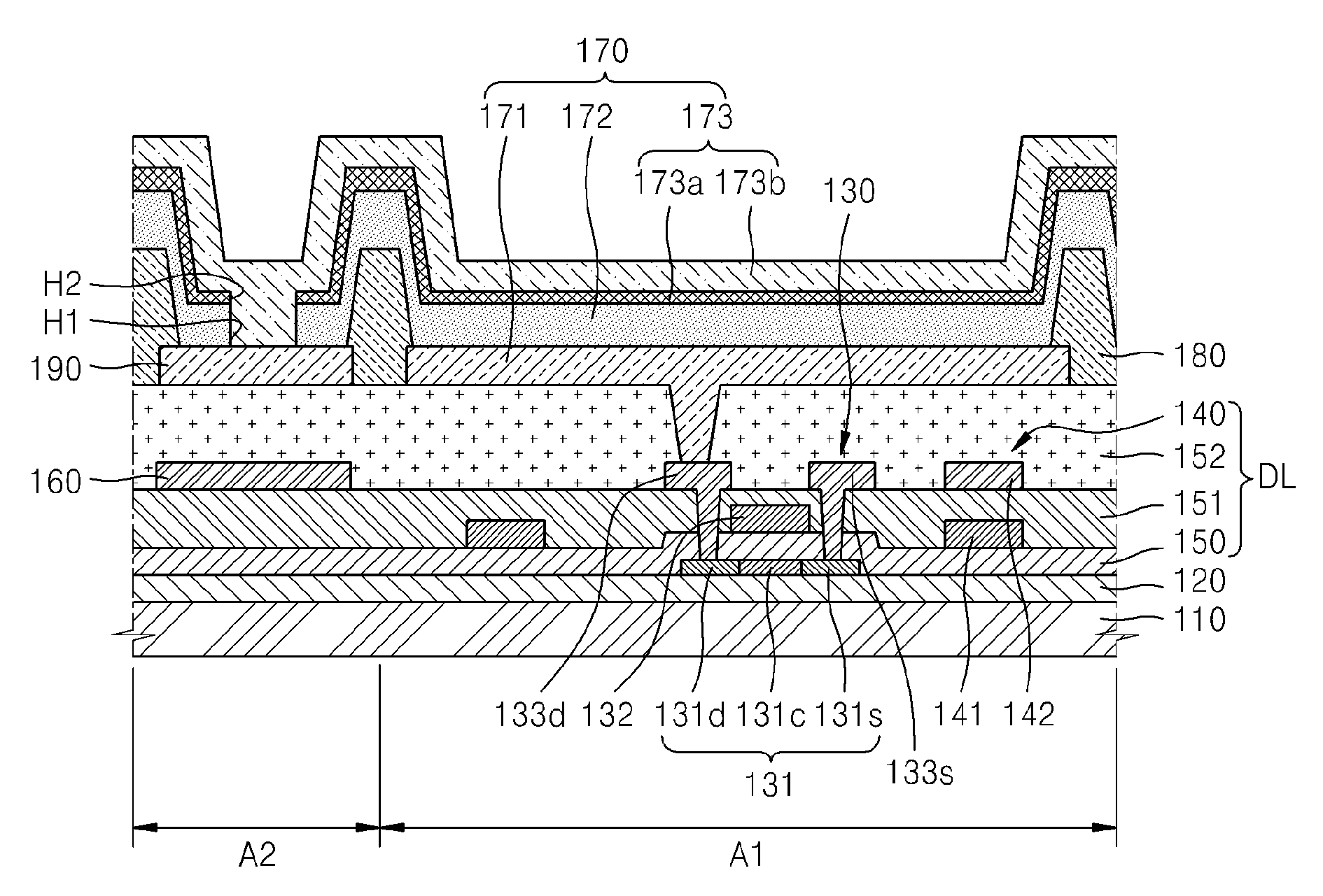
Organic light-emitting display device and method of manufacturing the same
授权日
2016-07-26
公开(公告)号
US9401393
申请日
2015-05-05
公开(公告)日
2016-07-26
当前申请(专利权)人
SAMSUNG DISPLAY CO., LTD.
发明人
KIM, TAE-HYUNG | JEONG, BYOUNG-SEONG | LEE, SE-HO
简单同族
KR101560272B1 | KR1020140106049A | US20140239262A1 | US20150236081A1 | US9076983 | US9401393
简单同族成员数量
6
简单同族被引用专利总数
49
诉讼案件数
0
法律状态/事件
授权 | 权利转移
抱歉,您的浏览器不支持PDF预览,请点击链接下载PDF文件