专利数据库
统计分析
产业报告
专利数据监控
产业人才
行业动态
产业政策法规
维权援助
个人中心
详情
文本
图像
标题
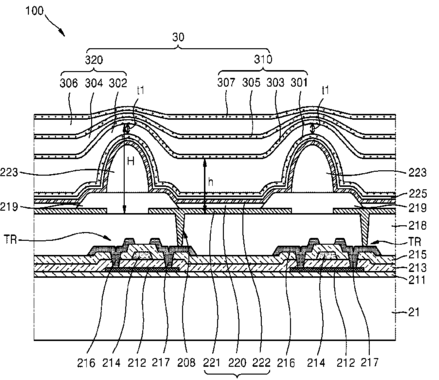
Organic light-emitting display apparatus and method of manufacturing the same
授权日
2018-09-25
公开(公告)号
US10084154
申请日
2017-03-09
公开(公告)日
2018-09-25
当前申请(专利权)人
SAMSUNG DISPLAY CO., LTD.
发明人
KANG, TAE-WOOK
简单同族
CN104282713A | CN104282713B | CN110137374A | KR1020150007866A | KR102080008B1 | TW201503350A | US10084154 | US10622586 | US20150014636A1 | US20170179431A1 | US20180366682A1 | US20200220102A1 | US9614180
简单同族成员数量
13
简单同族被引用专利总数
65
诉讼案件数
0
法律状态/事件
授权 | 权利转移
抱歉,您的浏览器不支持PDF预览,请点击链接下载PDF文件