专利数据库
统计分析
产业报告
专利数据监控
产业人才
行业动态
产业政策法规
维权援助
个人中心
详情
文本
图像
标题
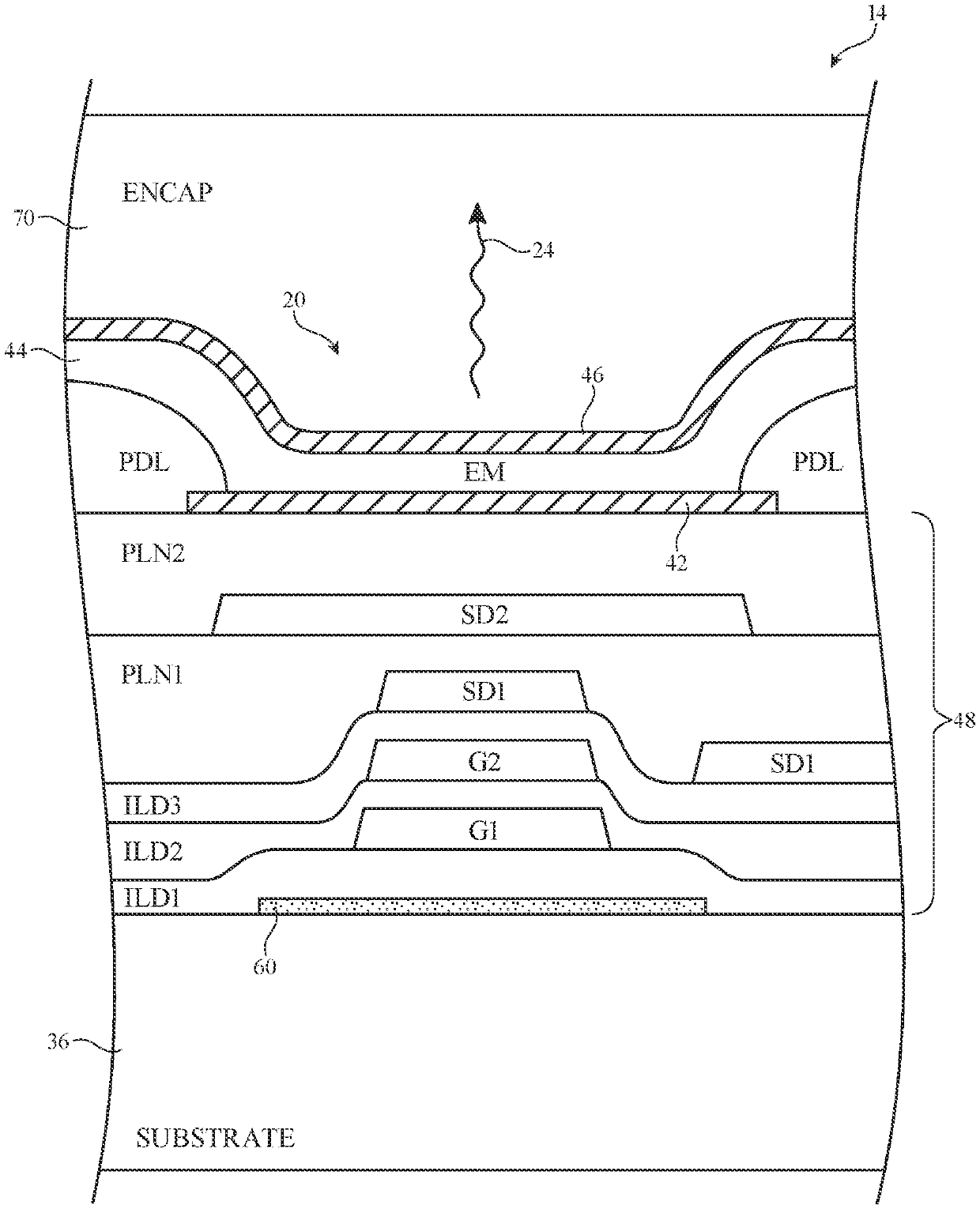
Organic Light-Emitting Diode Display Panels with Moisture Blocking Structures
授权日
1900-01-01
公开(公告)号
US20200220098A1
申请日
2019-10-31
公开(公告)日
2020-07-09
当前申请(专利权)人
APPLE INC.
发明人
TSAI, TSUNG-TING | JAMSHIDI ROUDBARI, ABBAS | WEI, CHUAN-SHENG | TING, HANCHI | CHOI, JAE WON | LIN, JIANHONG | KAO, NAI-CHIH | CHANG, SHIH CHANG | YEH, SHIN-HUNG | ISHII, TAKAHIDE | CHANG, TING-KUO | CHEN, YU HUNG | LIU, YU-WEN | PAI, YU-CHUAN | LIN, ANDREW
简单同族
CN111415958A | US20200220098A1
简单同族成员数量
2
简单同族被引用专利总数
0
诉讼案件数
0
法律状态/事件
公开
抱歉,您的浏览器不支持PDF预览,请点击链接下载PDF文件