专利数据库
统计分析
产业报告
专利数据监控
产业人才
行业动态
产业政策法规
维权援助
个人中心
详情
文本
图像
标题
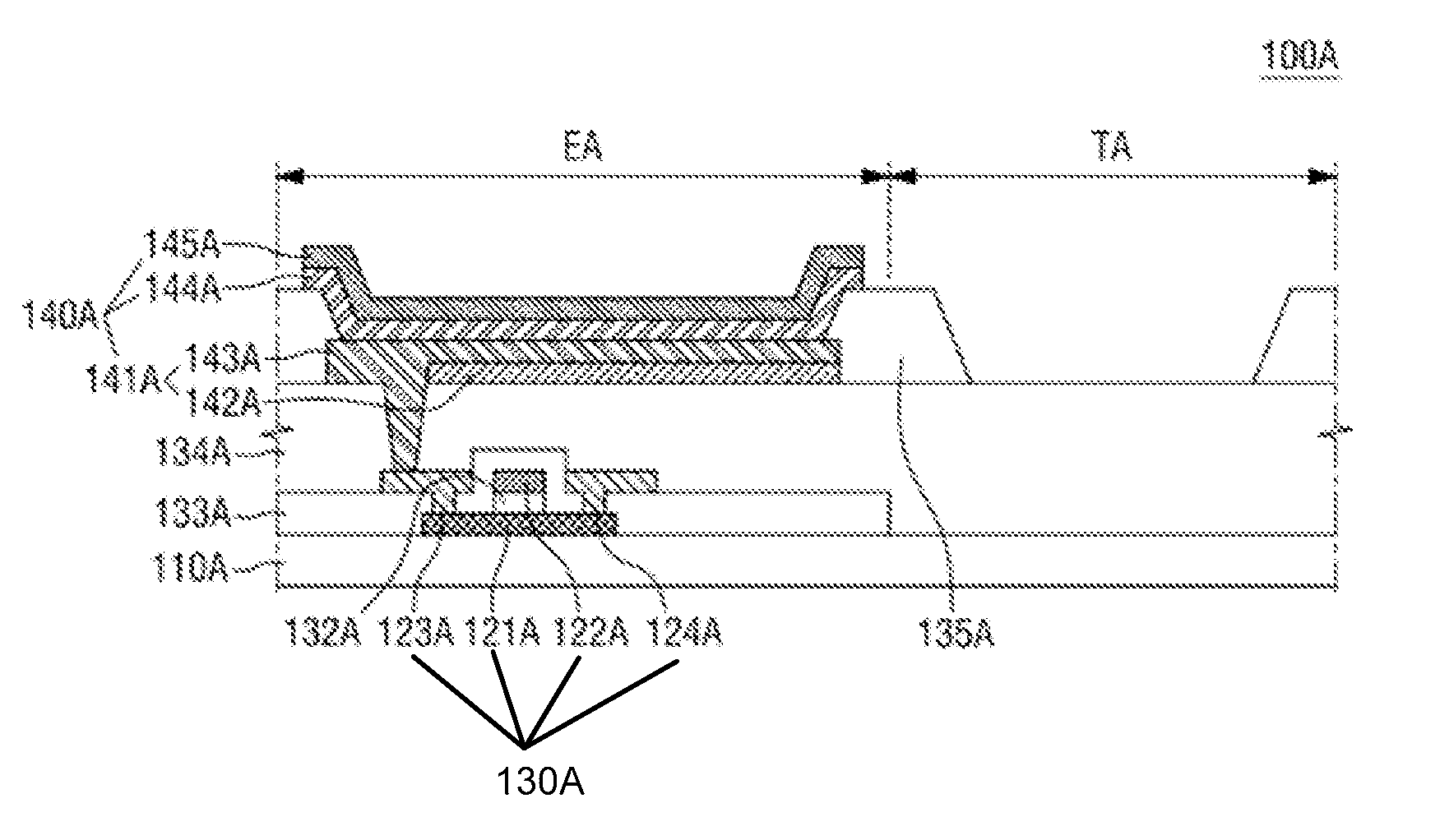
Transparent organic light emitting display device and method for manufacturing the same
授权日
1900-01-01
公开(公告)号
US20140183472A1
申请日
2013-12-03
公开(公告)日
2014-07-03
当前申请(专利权)人
LG DISPLAY CO., LTD.
发明人
KIM, YONGCHUL | IM, JONGHYEOK
简单同族
CN104885250A | CN104885250B | EP2939290A1 | EP2939290A4 | EP2939290B1 | KR102010789B1 | KR1020140085243A | US20140183472A1 | US9349780 | WO2014104707A1
简单同族成员数量
10
简单同族被引用专利总数
65
诉讼案件数
0
法律状态/事件
授权 | 权利转移
抱歉,您的浏览器不支持PDF预览,请点击链接下载PDF文件