专利数据库
统计分析
产业报告
专利数据监控
产业人才
行业动态
产业政策法规
维权援助
个人中心
详情
文本
图像
标题
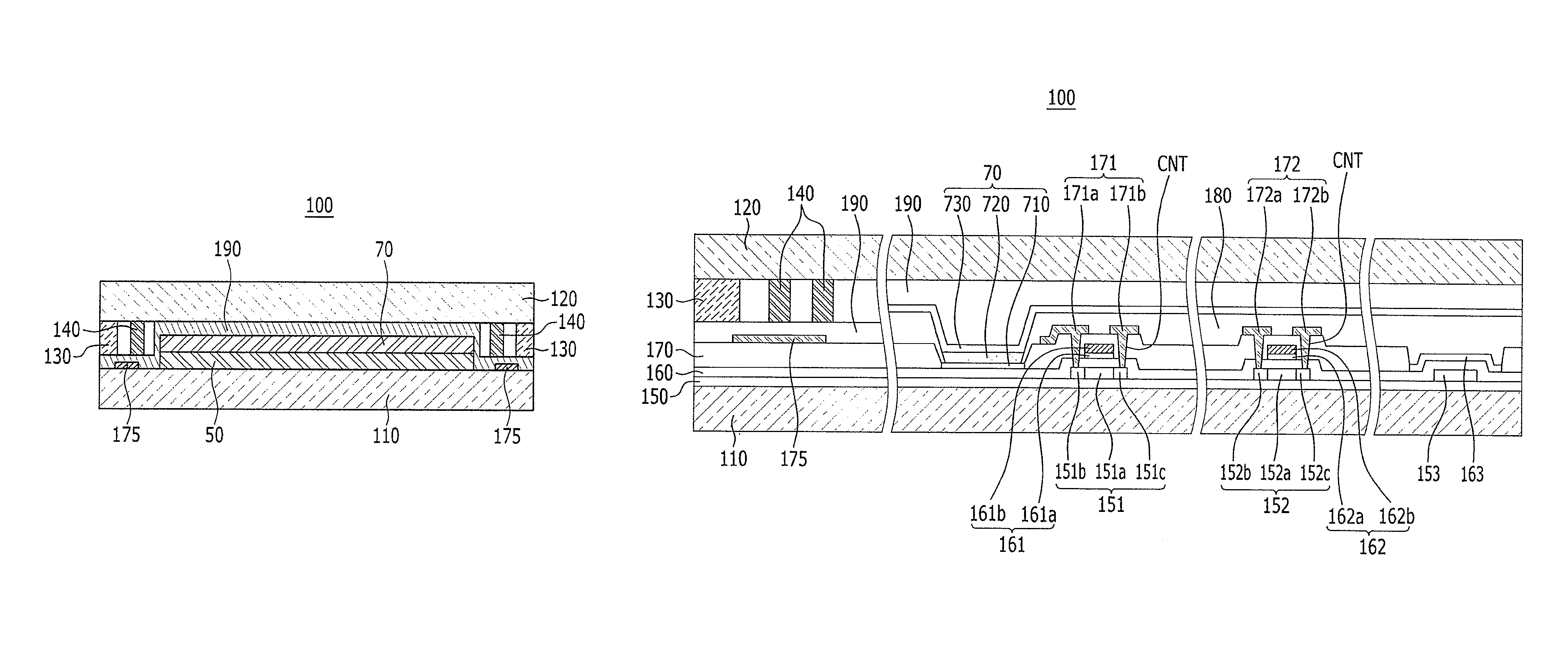
Organic light emitting diode display and manufacturing method of the same
授权日
2014-01-28
公开(公告)号
US8637333
申请日
2011-08-09
公开(公告)日
2014-01-28
当前申请(专利权)人
SAMSUNG DISPLAY CO., LTD.
发明人
YOU, CHUN-GI | CHOI, JOON-HOO
简单同族
CN102544056A | CN102544056B | KR1020120077470A | TW201251000A | TWI557893B | US20120169229A1 | US20140138668A1 | US8637333 | US9312316
简单同族成员数量
9
简单同族被引用专利总数
64
诉讼案件数
0
法律状态/事件
授权 | 权利转移
抱歉,您的浏览器不支持PDF预览,请点击链接下载PDF文件