专利数据库
统计分析
产业报告
专利数据监控
产业人才
行业动态
产业政策法规
维权援助
个人中心
详情
文本
图像
标题
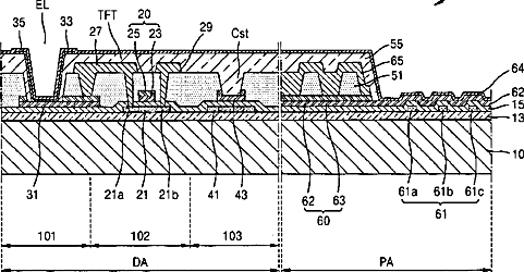
Organic light-emitting display apparatus that prevents a thick organic insulating layer from lifting
授权日
2014-01-28
公开(公告)号
US8637894
申请日
2011-05-03
公开(公告)日
2014-01-28
当前申请(专利权)人
SAMSUNG DISPLAY CO., LTD.
发明人
LEE, YUL-KYU | YOU, CHUN-GI | PARK, SUN | PARK, JONG-HYUN | KIM, KWANG-HAE
简单同族
CN102487071A | CN102487071B | KR101764272B1 | KR1020120060544A | TW201225281A | TWI559521B | US20120139000A1 | US8637894
简单同族成员数量
8
简单同族被引用专利总数
54
诉讼案件数
0
法律状态/事件
授权 | 权利转移
抱歉,您的浏览器不支持PDF预览,请点击链接下载PDF文件