专利数据库
统计分析
产业报告
专利数据监控
产业人才
行业动态
产业政策法规
维权援助
个人中心
详情
文本
图像
标题
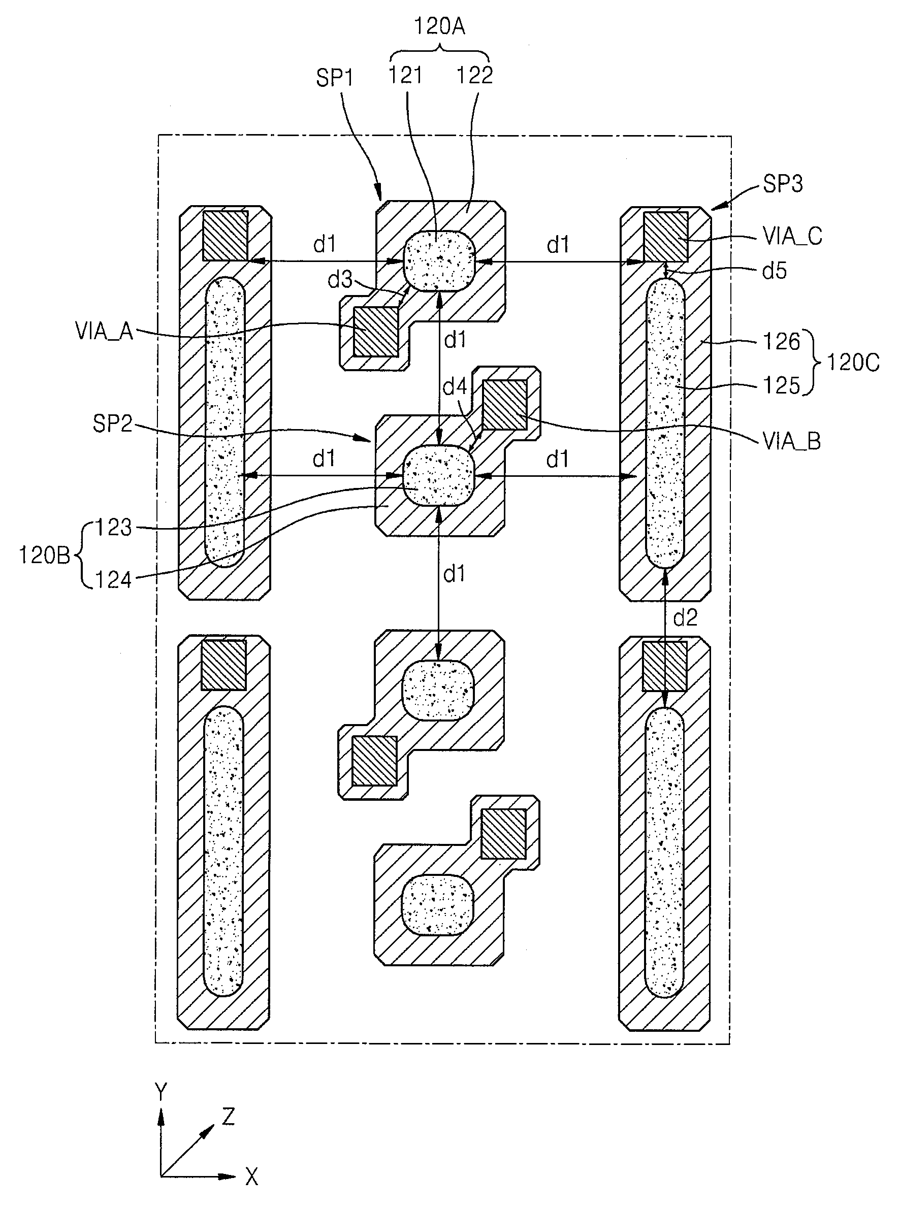
Thin film transistor array substrate and organic light-emitting display device including the same
授权日
2016-10-25
公开(公告)号
US9478586
申请日
2013-08-09
公开(公告)日
2016-10-25
当前申请(专利权)人
SAMSUNG DISPLAY CO., LTD
发明人
LEE, WON-SE
简单同族
KR1020140118010A | KR102096051B1 | US10084029 | US10546906 | US20140292622A1 | US20170012094A1 | US20190027546A1 | US20200144349A1 | US9478586
简单同族成员数量
9
简单同族被引用专利总数
78
诉讼案件数
0
法律状态/事件
授权 | 权利转移
抱歉,您的浏览器不支持PDF预览,请点击链接下载PDF文件