专利数据库
统计分析
产业报告
专利数据监控
产业人才
行业动态
产业政策法规
维权援助
个人中心
详情
文本
图像
标题
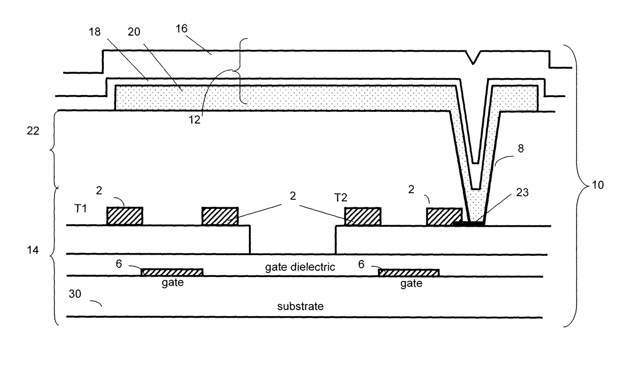
Pixel having an organic light emitting diode and method of fabricating the pixel
授权日
2018-12-25
公开(公告)号
US10163996
申请日
2017-01-11
公开(公告)日
2018-12-25
当前申请(专利权)人
IGNIS INNOVATION INC.
发明人
STRIAKHILEV, DENIS | NATHAN, AROKIA | VYGRANENKO, YURI | TAO, SHENG
简单同族
CA2419704A1 | EP1599910A2 | JP2006518864A | JP5178006B2 | TW200423805A | US10163996 | US10439013 | US20070029545A1 | US20110272695A1 | US20170125498A1 | US20190088729A1 | US20190386080A1 | US7948170 | WO2004075245A2 | WO2004075245A3
简单同族成员数量
15
简单同族被引用专利总数
130
诉讼案件数
0
法律状态/事件
授权 | 权利转移
抱歉,您的浏览器不支持PDF预览,请点击链接下载PDF文件