专利数据库
统计分析
产业报告
专利数据监控
产业人才
行业动态
产业政策法规
维权援助
个人中心
详情
文本
图像
标题
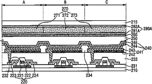
Flexible organic light-emitting display device and method for manufacturing the same
授权日
2016-01-12
公开(公告)号
US9236420
申请日
2013-12-10
公开(公告)日
2016-01-12
当前申请(专利权)人
LG DISPLAY CO., LTD.
发明人
LEE, MIJUNG | PARK, JONGHYUN | YOON, SOOYOUNG
简单同族
CN104885142A | CN104885142B | EP2939230A1 | EP2939230A4 | KR1020140085306A | US20140183478A1 | US20160099428A1 | US9236420 | US9761816 | WO2014104709A1
简单同族成员数量
10
简单同族被引用专利总数
71
诉讼案件数
0
法律状态/事件
授权 | 权利转移
抱歉,您的浏览器不支持PDF预览,请点击链接下载PDF文件