专利数据库
统计分析
产业报告
专利数据监控
产业人才
行业动态
产业政策法规
维权援助
个人中心
详情
文本
图像
标题
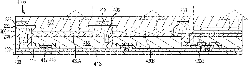
Reducing sheet resistance for common electrode in top emission organic light emitting diode display
授权日
2015-07-21
公开(公告)号
US9088003
申请日
2013-03-06
公开(公告)日
2015-07-21
当前申请(专利权)人
APPLE INC.
发明人
GUPTA, VASUDHA | PARK, YOUNGBAE | CHANG, SHIH CHANG | ZHONG, JOHN Z.
简单同族
US20140252317A1 | US9088003
简单同族成员数量
2
简单同族被引用专利总数
49
诉讼案件数
0
法律状态/事件
授权 | 权利转移
抱歉,您的浏览器不支持PDF预览,请点击链接下载PDF文件