专利数据库
统计分析
产业报告
专利数据监控
产业人才
行业动态
产业政策法规
维权援助
个人中心
详情
文本
图像
标题
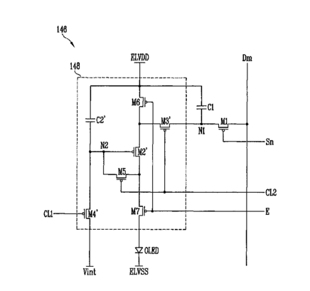
Pixel and organic light emitting display using the same
授权日
2017-08-29
公开(公告)号
US9747838
申请日
2016-02-24
公开(公告)日
2017-08-29
当前申请(专利权)人
SAMSUNG DISPLAY CO., LTD.
发明人
KANG, CHUL-KYU
简单同族
JP2012103660A | JP5901880B2 | KR101783898B1 | KR1020120048294A | US20120113077A1 | US20160171927A1 | US9275567 | US9747838
简单同族成员数量
8
简单同族被引用专利总数
63
诉讼案件数
0
法律状态/事件
授权
抱歉,您的浏览器不支持PDF预览,请点击链接下载PDF文件