专利数据库
统计分析
产业报告
专利数据监控
产业人才
行业动态
产业政策法规
维权援助
个人中心
详情
文本
图像
标题
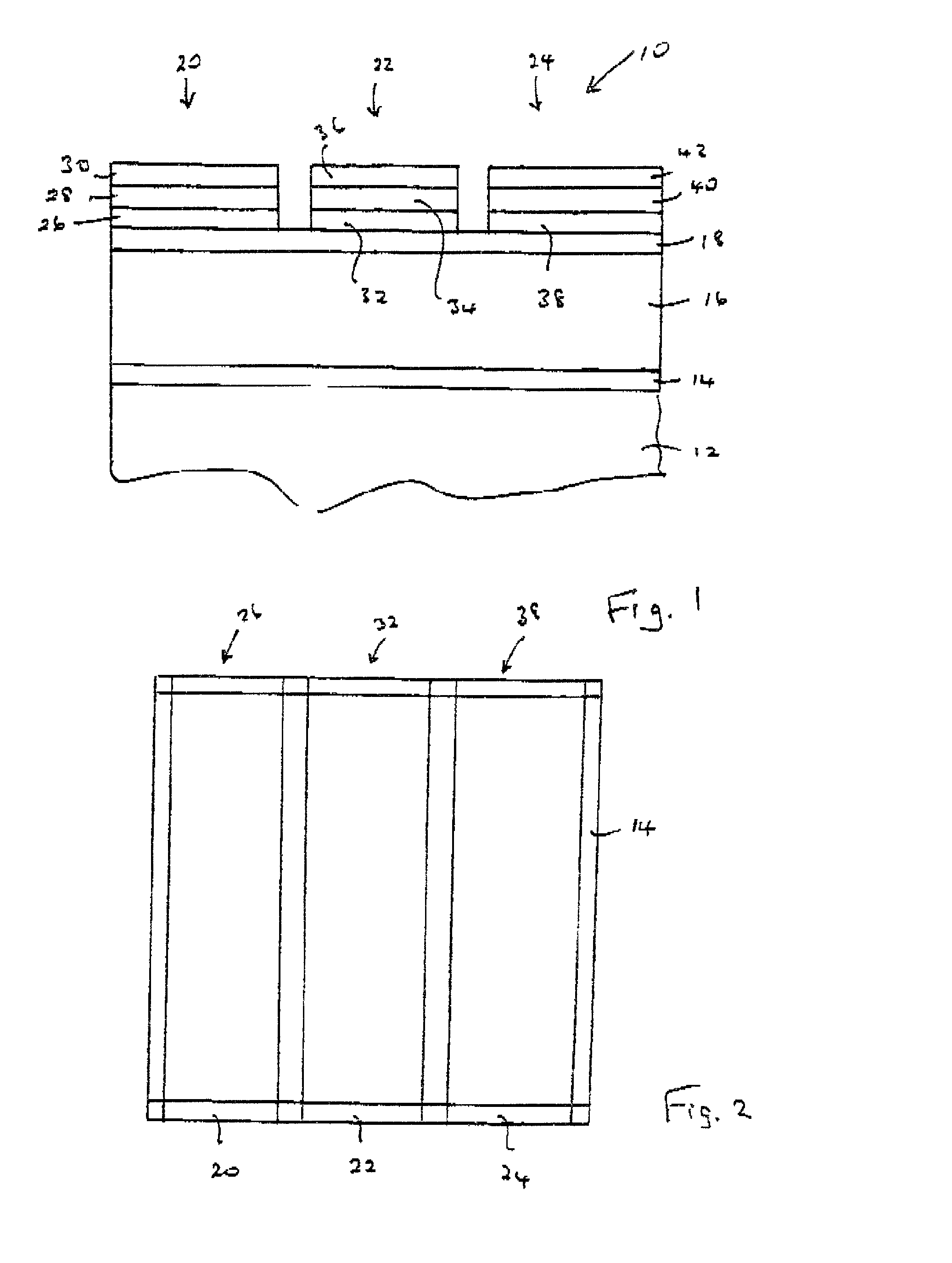
Insertion layer for thick film electroluminescent displays
授权日
1900-01-01
公开(公告)号
US20020094451A1
申请日
2001-01-17
公开(公告)日
2002-07-18
当前申请(专利权)人
IFIRE IP CORPORATION
发明人
LI, WU | XIN, YONGBAO | WESTCOTT, MICHAEL R.
简单同族
AT434370T | CA2434335A1 | CA2434335C | CN100484354C | CN1486581A | DE60232639D1 | EP1352545A2 | EP1352545B1 | JP2004520691A | KR100856970B1 | KR1020030081387A | US20020094451A1 | US6589674 | WO2002058438A2 | WO2002058438A3
简单同族成员数量
15
简单同族被引用专利总数
89
诉讼案件数
0
法律状态/事件
授权 | 权利转移
抱歉,您的浏览器不支持PDF预览,请点击链接下载PDF文件