专利数据库
统计分析
产业报告
专利数据监控
产业人才
行业动态
产业政策法规
维权援助
个人中心
详情
文本
图像
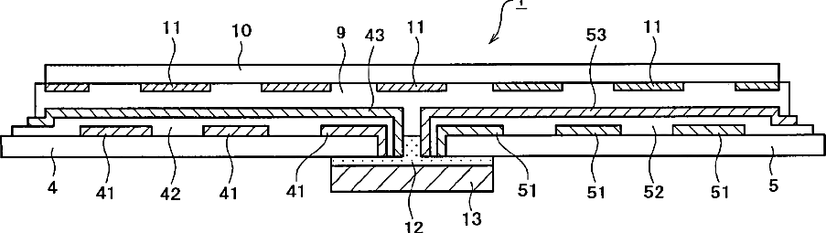
标题
Display unit
授权日
2006-05-16
公开(公告)号
US7045951
申请日
2003-09-04
公开(公告)日
2006-05-16
当前申请(专利权)人
JOLED INC.
发明人
KAWASE, KIMITAKA | KIJIMA, YASUNORI | SATO, YUKIO | TAMASHIRO, HITOSHI
简单同族
JP2004111059A | KR101011048B1 | KR1020040024505A | TW200405230A | TWI226027B | US20040051451A1 | US7045951
简单同族成员数量
7
简单同族被引用专利总数
48
诉讼案件数
0
法律状态/事件
授权 | 权利转移
抱歉,您的浏览器不支持PDF预览,请点击链接下载PDF文件