专利数据库
统计分析
产业报告
专利数据监控
产业人才
行业动态
产业政策法规
维权援助
个人中心
详情
文本
图像
标题
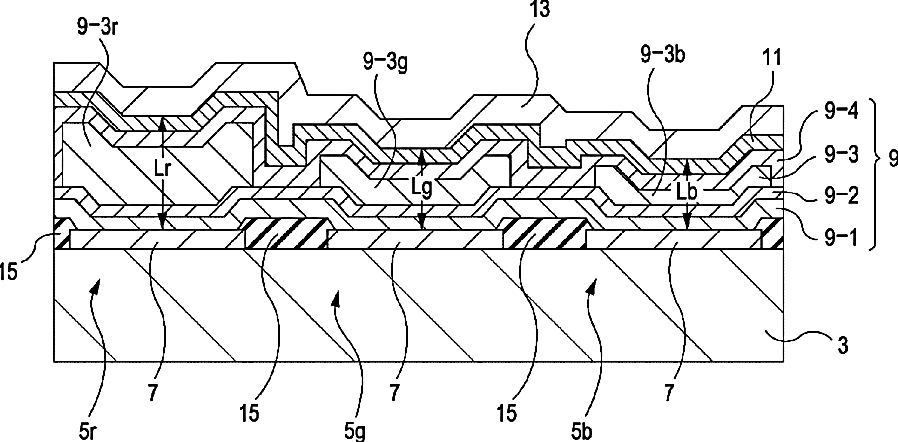
Display unit and method for fabricating the same
授权日
1900-01-01
公开(公告)号
US20070057264A1
申请日
2006-09-12
公开(公告)日
2007-03-15
当前申请(专利权)人
JOLED INC.
发明人
MATSUDA, EISUKE
简单同族
CN100472799C | CN1933173A | JP2007080906A | JP4412264B2 | KR101272294B1 | KR1020070030140A | US20070057264A1 | US7399993
简单同族成员数量
8
简单同族被引用专利总数
111
诉讼案件数
0
法律状态/事件
授权 | 权利转移
抱歉,您的浏览器不支持PDF预览,请点击链接下载PDF文件