专利数据库
统计分析
产业报告
专利数据监控
产业人才
行业动态
产业政策法规
维权援助
个人中心
详情
文本
图像
标题
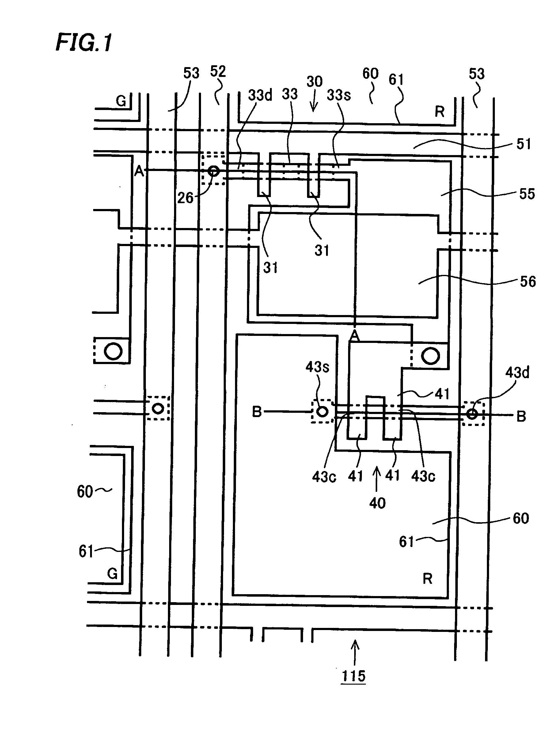
Laser repairing method of electroluminescent display device
授权日
1900-01-01
公开(公告)号
US20040202777A1
申请日
2004-01-16
公开(公告)日
2004-10-14
当前申请(专利权)人
SANYO ELECTRIC CO., LTD.
发明人
NISHIKAWA, RYUJI | NAGATA, RYOZO | OGAWA, TAKASHI
简单同族
CN100372147C | CN1525799A | JP2004227852A | JP4270891B2 | KR100582625B1 | KR1020040067964A | TW200414811A | TWI262741B | US20040202777A1 | US7611745
简单同族成员数量
10
简单同族被引用专利总数
90
诉讼案件数
0
法律状态/事件
授权 | 权利转移
抱歉,您的浏览器不支持PDF预览,请点击链接下载PDF文件