专利数据库
统计分析
产业报告
专利数据监控
产业人才
行业动态
产业政策法规
维权援助
个人中心
详情
文本
图像
标题
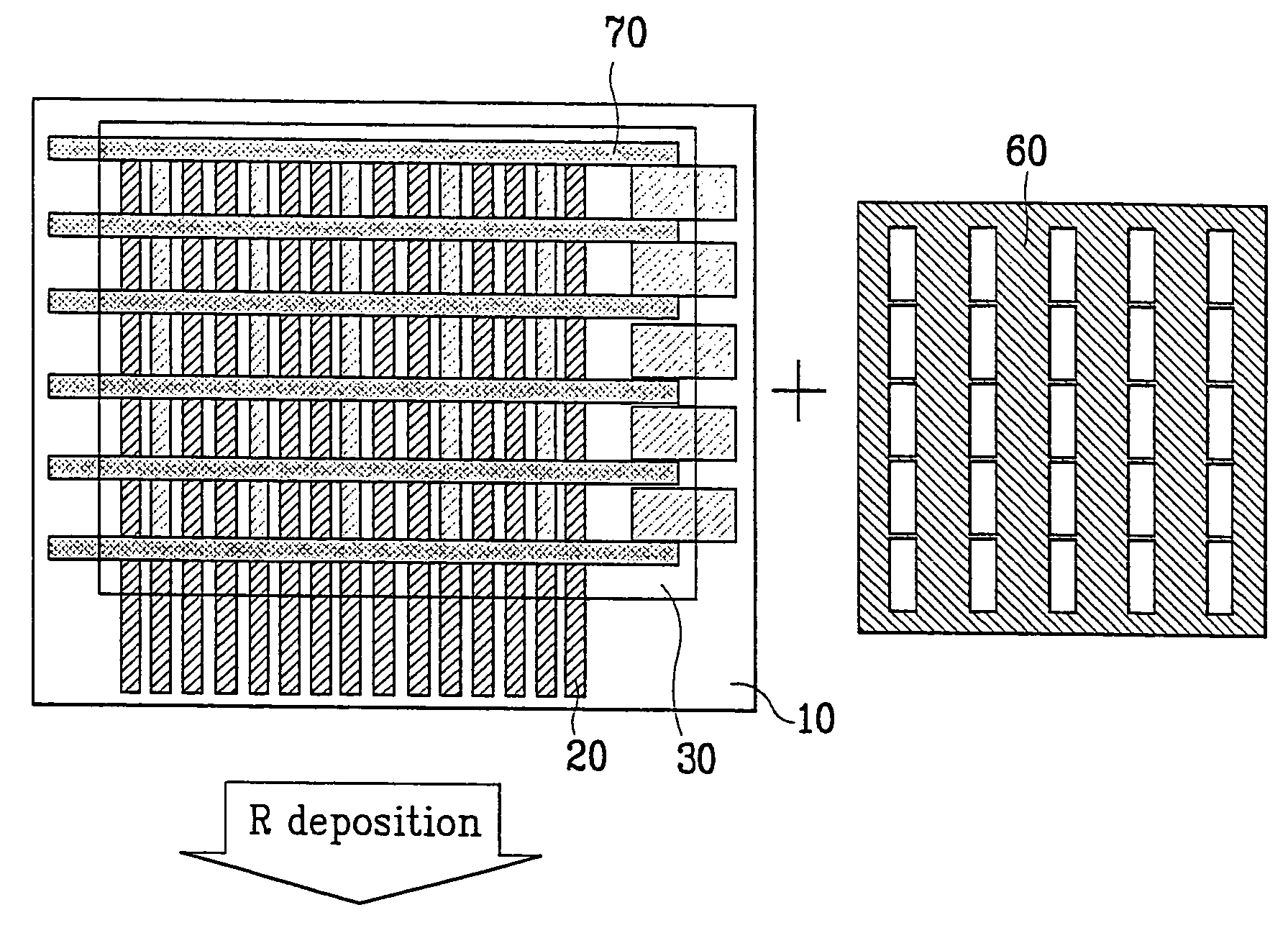
Organic EL display device and method for fabricating the same
授权日
1900-01-01
公开(公告)号
US20050109273A1
申请日
2004-12-29
公开(公告)日
2005-05-26
当前申请(专利权)人
LG DISPLAY CO., LTD.
发明人
KIM, CHANG NAM
简单同族
CN1404343A | DE60230955D1 | EP1274130A2 | EP1274130A3 | EP1274130B1 | JP2003036972A | JP2005142172A | JP3675779B2 | KR1020030002947A | US20030011299A1 | US20050109273A1 | US6884139 | US7694648
简单同族成员数量
13
简单同族被引用专利总数
46
诉讼案件数
0
法律状态/事件
授权 | 权利转移
抱歉,您的浏览器不支持PDF预览,请点击链接下载PDF文件