专利数据库
统计分析
产业报告
专利数据监控
产业人才
行业动态
产业政策法规
维权援助
个人中心
详情
文本
图像
标题
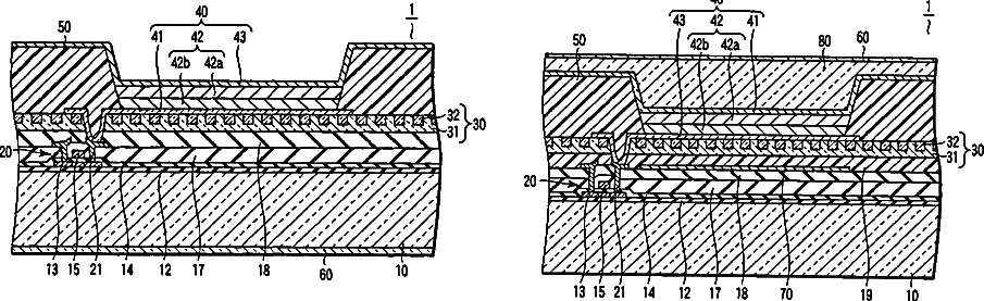
Optical device and organic EL display
授权日
2008-05-20
公开(公告)号
US7375463
申请日
2005-11-09
公开(公告)日
2008-05-20
当前申请(专利权)人
JAPAN DISPLAY INC.
发明人
UEMURA, TSUYOSHI | OKUTANI, SATOSHI | KUBOTA, HIROFUMI | AKIYOSHI, MUNEHARU | OKADA, NAOTADA | TONOTANI, JUNICHI
简单同族
CN1806269A | EP1655707A1 | EP1655707A4 | JP2005063839A | KR100753257B1 | KR1020060027330A | TW200507691A | TWI241862B | US20060055319A1 | US7375463 | WO2005017861A1
简单同族成员数量
11
简单同族被引用专利总数
50
诉讼案件数
0
法律状态/事件
未缴年费 | 权利转移
抱歉,您的浏览器不支持PDF预览,请点击链接下载PDF文件