专利数据库
统计分析
产业报告
专利数据监控
产业人才
行业动态
产业政策法规
维权援助
个人中心
详情
文本
图像
标题
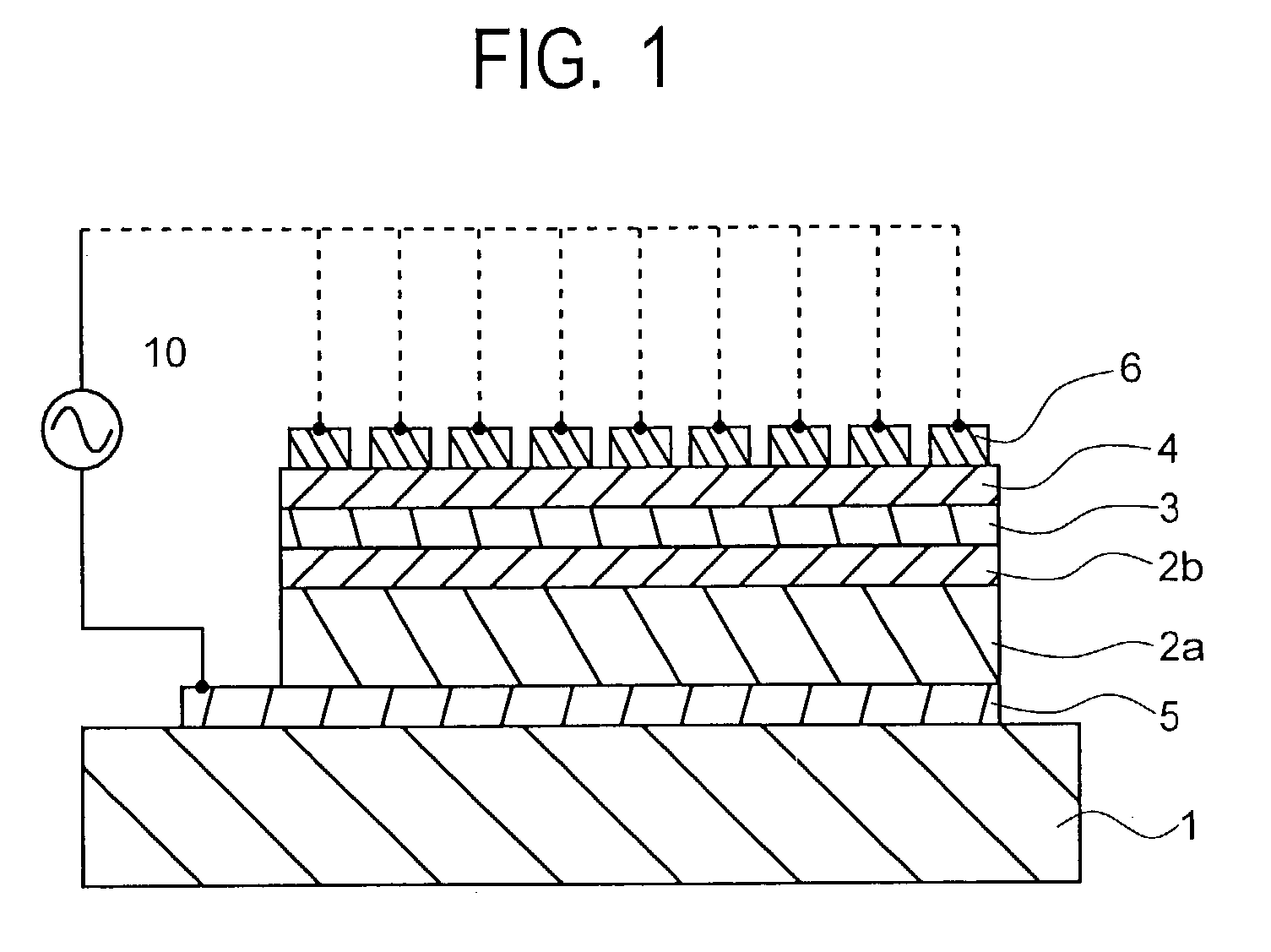
Phosphor and EL panel
授权日
1900-01-01
公开(公告)号
US20030152804A1
申请日
2003-02-12
公开(公告)日
2003-08-14
当前申请(专利权)人
TDK CORPORATION
发明人
MIURA, NOBORU | YANO, YOSHIHIKO
简单同族
JP2003238953A | US20030152804A1 | US6942932
简单同族成员数量
3
简单同族被引用专利总数
57
诉讼案件数
0
法律状态/事件
未缴年费 | 权利转移
抱歉,您的浏览器不支持PDF预览,请点击链接下载PDF文件