专利数据库
统计分析
产业报告
专利数据监控
产业人才
行业动态
产业政策法规
维权援助
个人中心
详情
文本
图像
标题
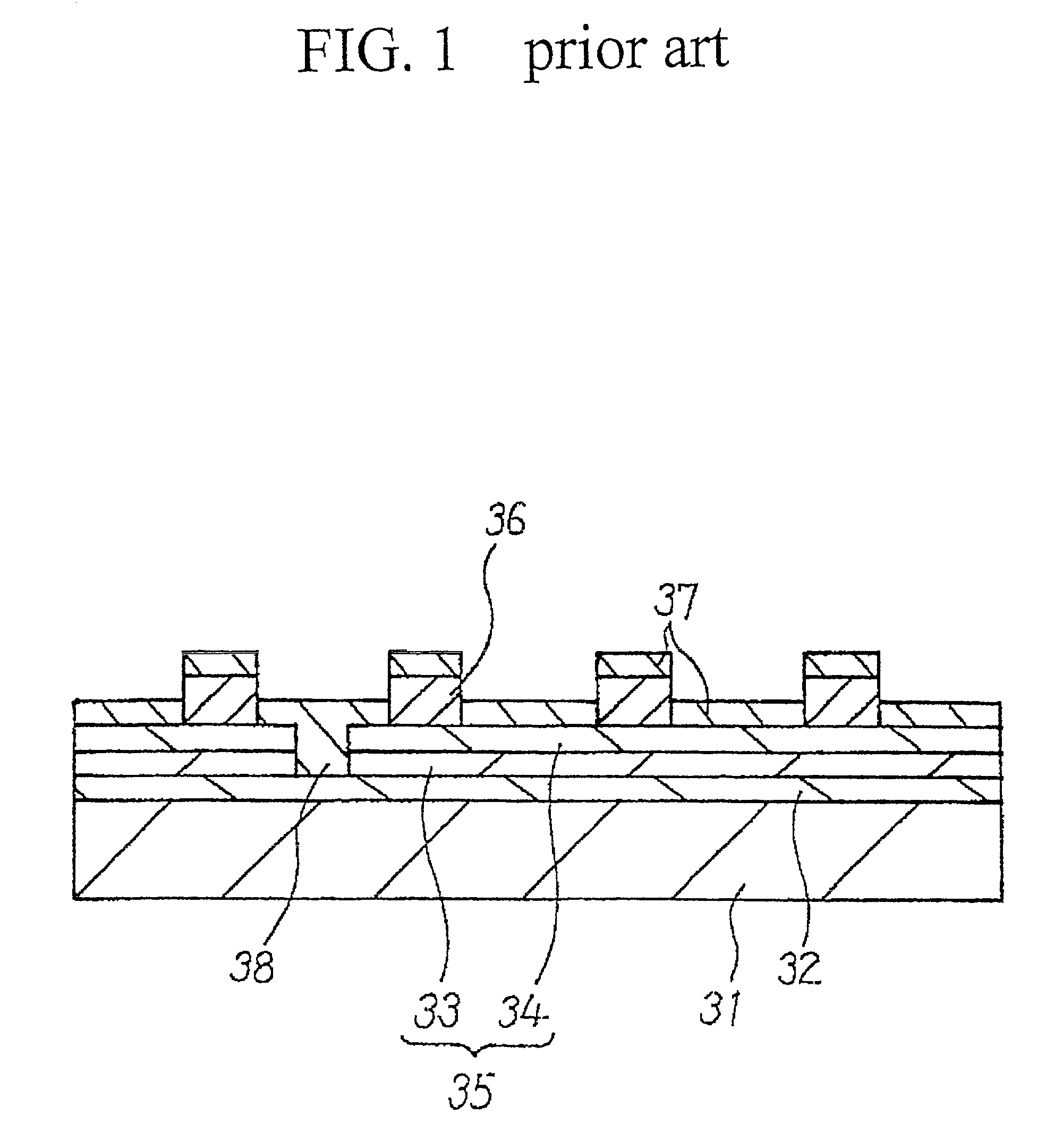
Organic electroluminescent display device and method of forming the same
授权日
1900-01-01
公开(公告)号
US20010017518A1
申请日
2001-03-28
公开(公告)日
2001-08-30
当前申请(专利权)人
SAMSUNG DISPLAY CO., LTD.
发明人
MIZUTANI, KAZUHIRO | OOTSUKI, SHIGEYOSHI
简单同族
JP1998241859A | JP2848371B2 | KR100345972B1 | KR1019980071583A | TW411634B | US20010017518A1 | US6326726 | US6390874
简单同族成员数量
8
简单同族被引用专利总数
99
诉讼案件数
0
法律状态/事件
期限届满 | 权利转移
抱歉,您的浏览器不支持PDF预览,请点击链接下载PDF文件