专利数据库
统计分析
产业报告
专利数据监控
产业人才
行业动态
产业政策法规
维权援助
个人中心
详情
文本
图像
标题
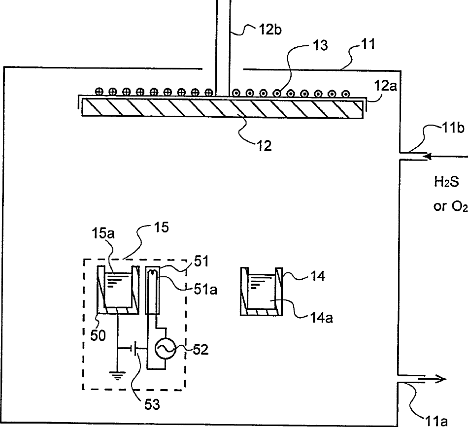
EL panel
授权日
1900-01-01
公开(公告)号
US20030020396A1
申请日
2001-10-05
公开(公告)日
2003-01-30
当前申请(专利权)人
IFIRE IP CORPORATION
发明人
YANO, YOSHIHIKO | NAGANO, KATSUTO
简单同族
CA2358295A1 | CA2358295C | CN1211455C | CN1400848A | EP1279718A2 | EP1279718A3 | JP2003045660A | JP3704068B2 | KR100445328B1 | KR1020030011201A | TWI236861B | US20030020396A1 | US6597108
简单同族成员数量
13
简单同族被引用专利总数
46
诉讼案件数
0
法律状态/事件
授权 | 权利转移
抱歉,您的浏览器不支持PDF预览,请点击链接下载PDF文件