专利数据库
统计分析
产业报告
专利数据监控
产业人才
行业动态
产业政策法规
维权援助
个人中心
详情
文本
图像
标题
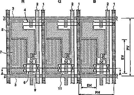
Color electroluminescence display device
授权日
2008-01-01
公开(公告)号
US7315131
申请日
2006-01-09
公开(公告)日
2008-01-01
当前申请(专利权)人
SANYO ELECTRIC CO., LTD.
发明人
YOKOYAMA, RYOICHI
简单同族
JP2000227771A | US20030011316A1 | US20060197461A1 | US6433486 | US6995517 | US7315131
简单同族成员数量
6
简单同族被引用专利总数
88
诉讼案件数
0
法律状态/事件
期限届满 | 权利转移
抱歉,您的浏览器不支持PDF预览,请点击链接下载PDF文件