专利数据库
统计分析
产业报告
专利数据监控
产业人才
行业动态
产业政策法规
维权援助
个人中心
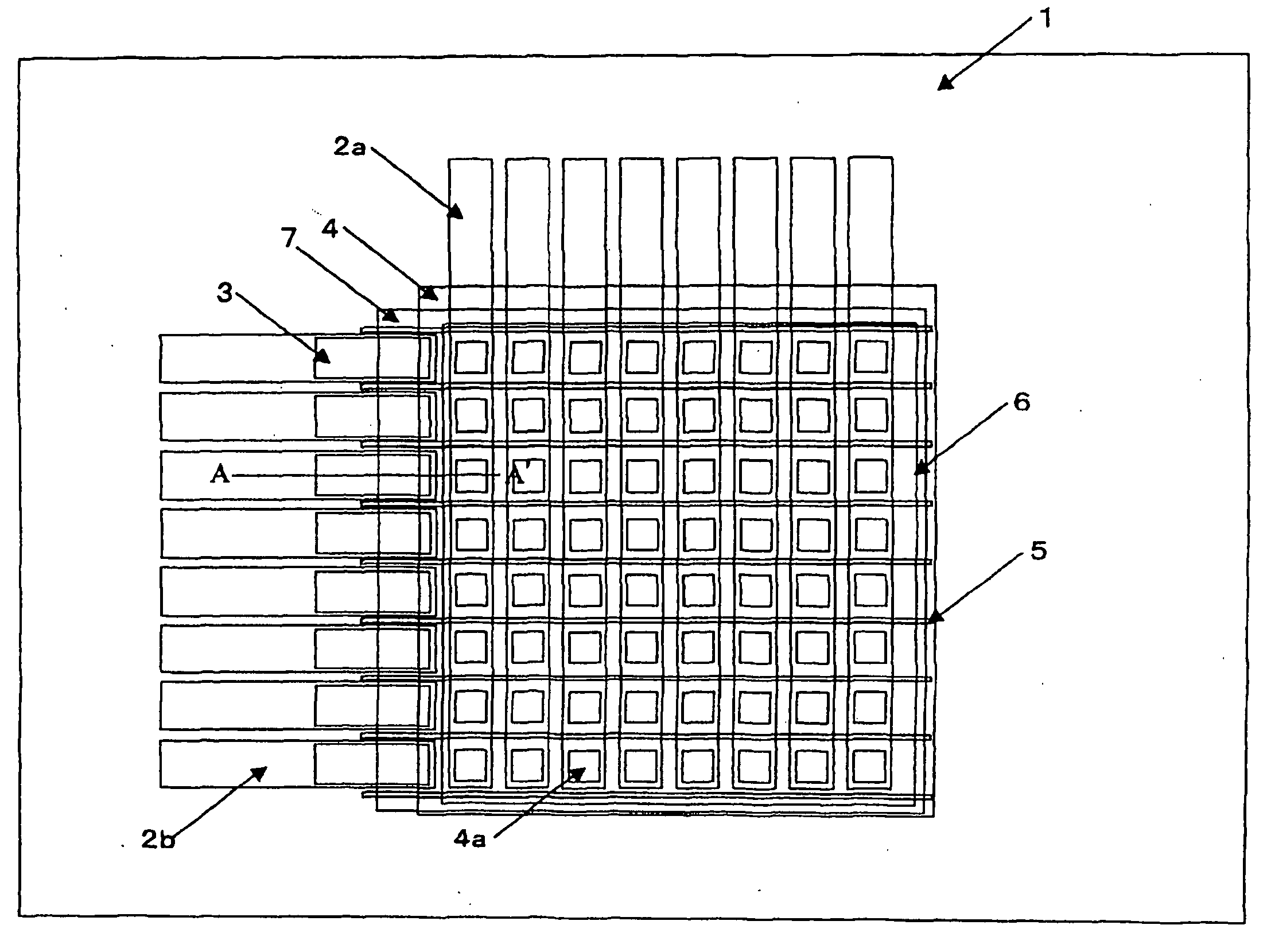
详情
文本
图像
标题
Organic electroluminescence display element, a display device and a method for producing each
授权日
1900-01-01
公开(公告)号
US20040245920A1
申请日
2004-04-21
公开(公告)日
2004-12-09
当前申请(专利权)人
OPTREX CORPORATION
发明人
NAKAMURA, NOBUHIRO
简单同族
AU2003236109A1 | DE10392168B4 | DE10392168T5 | JP2005108437A | JP4271915B2 | JPWO2003086022A1 | US20040245920A1 | WO2003086022A1
简单同族成员数量
8
简单同族被引用专利总数
47
诉讼案件数
0
法律状态/事件
撤回 | 权利转移
抱歉,您的浏览器不支持PDF预览,请点击链接下载PDF文件