专利数据库
统计分析
产业报告
专利数据监控
产业人才
行业动态
产业政策法规
维权援助
个人中心
详情
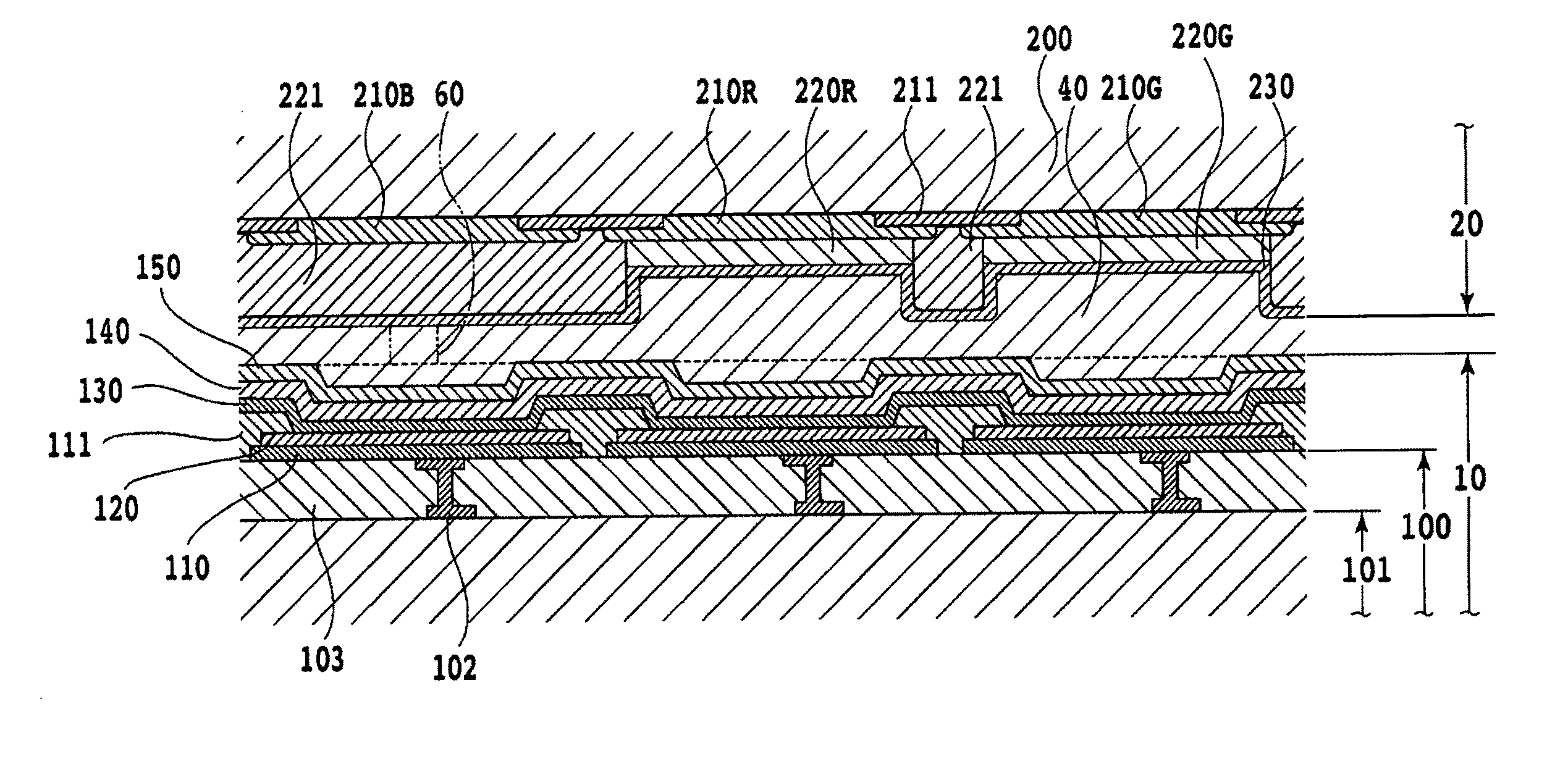
文本
图像
标题
Organic el display and method for manufacturing same
授权日
1900-01-01
公开(公告)号
US20110084290A1
申请日
2009-06-23
公开(公告)日
2011-04-14
当前申请(专利权)人
SHARP KABUSHIKI KAISHA
发明人
NAKAMURA, HIDEYO | HASHIMOTO, KOHICHI
简单同族
CN101971701A | JPWO2010004865A1 | KR101209128B1 | KR1020100126399A | TW201008365A | TWI481299B | US20110084290A1 | US8629614 | WO2010004865A1
简单同族成员数量
9
简单同族被引用专利总数
59
诉讼案件数
0
法律状态/事件
授权 | 权利转移
抱歉,您的浏览器不支持PDF预览,请点击链接下载PDF文件