专利数据库
统计分析
产业报告
专利数据监控
产业人才
行业动态
产业政策法规
维权援助
个人中心
详情
文本
图像
标题
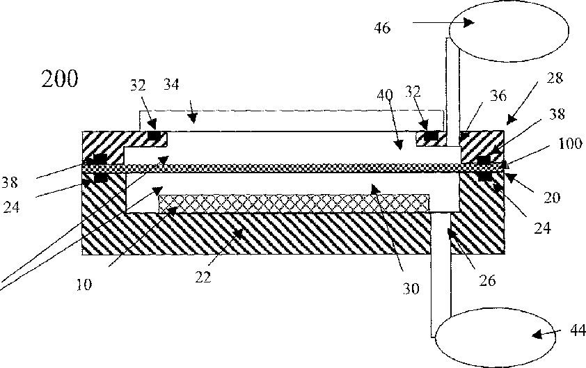
Method for transferring of organic material from a donor to form a layer in an OLED device
授权日
1900-01-01
公开(公告)号
US20030113656A1
申请日
2001-12-19
公开(公告)日
2003-06-19
当前申请(专利权)人
GLOBAL OLED TECHNOLOGY LLC
发明人
TYAN, YUAN-SHENG | FARRUGGIA, GIUSEPPE | VAZAN, FRIDRICH | CUSHMAN, THOMAS R.
简单同族
CN100355111C | CN1427653A | EP1321988A2 | EP1321988A3 | JP2003223991A | KR1020030051379A | TW200303695A | TW579659B | US20030113656A1 | US6688365
简单同族成员数量
10
简单同族被引用专利总数
70
诉讼案件数
0
法律状态/事件
授权 | 权利转移
抱歉,您的浏览器不支持PDF预览,请点击链接下载PDF文件